Jabra ScreenPlay 7210- Manuale d'uso
 
                
                                    Jabra ScreenPlay 7210– Manuale d'uso, leggi gratuitamente online in formato PDF. Speriamo che questo ti aiuti a risolvere eventuali dubbi. Se hai ulteriori domande, contattaci tramite il modulo di contatto.
Indice:
- Pagina 1 – Omologazioni
- Pagina 2 – Indice
- Pagina 3 – Considerazioni importanti per l’uso
- Pagina 4 – Introduzione; Dati tecnici del prodotto
- Pagina 5 – Pannello dei connettori; Resize
- Pagina 6 – Collocazione del proiettore
- Pagina 7 – Connessioni video; Tabella 1: Connessioni video
- Pagina 8 – Collegamento di una periferica video; Pb; Video; Collegamento del cavo di alimentazione; NOTA
- Pagina 9 – Visualizzazione di immagini video; Power
- Pagina 10 – Keystone; contrasto
- Pagina 11 – Collegamento con un computer; Serial
- Pagina 12 – Arresto del proiettore; Risparmio energetico; Soluzione dei problemi di approntamento; Tabella 2: Stato del LED e significato; Significato
- Pagina 14 – A B
- Pagina 15 – COLOR
- Pagina 16 – AA BB
- Pagina 19 – Se il problema persiste
- Pagina 20 – Uso dei pulsanti del tastierino
- Pagina 21 – Uso del telecomando; Soluzione dei problemi relativi al telecomando
- Pagina 22 – Ottimizzazione delle immagini video; Personalizzazione del proiettore; Impostazioni > Sistema
- Pagina 23 – Uso dei menu
- Pagina 24 – Menu Immagine
- Pagina 25 – Letterbox
- Pagina 27 – Impostazioni avanzate
- Pagina 28 – Temperatura Colore; Standard Video; VCR
- Pagina 29 – Menu Impostazioni
- Pagina 31 – Manutenzione; Pulizia della lente
- Pagina 32 – Sostituzione della lampada; Brightness; ATTENZIONE
- Pagina 33 – Azzeramento del contaore della lampada; Uso dell’antifurto
- Pagina 34 – Appendice; Stato del LED rosso ed errori del proiettore; Tabella 3; Dimensioni dell’immagine proiettata; Stato del LED rosso
- Pagina 35 – Compatibilità con la sorgente delle immagini; Compatibilità della sorgente di immagini
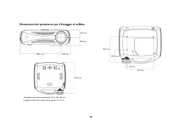
- Pagina 36 – Dimensioni del proiettore per il fissaggio al soffitto
- Pagina 37 – Dati tecnici del terminale RS-232; Configurazione delle comunicazioni
- Pagina 38 – Comandi supportati; Funzione
1
Dichiarazione di conformità
Fabbricante: InFocus Corporation, 27700B SW Parkway Ave. Wilsonville, Oregon 
97070 USA
Ufficio europeo: Strawinskylaan 585, 1077 XX Amsterdam, Paesi Bassi
Dichiariamo, sotto la nostra sola responsabilità, che questo proiettore è conforme alle 
seguenti direttive e norme:
Direttiva 89/336/CEE relativa alla compatibilità elettromagnetica, modificata
dalla direttiva 93/68/CEE
Compatibilità elettromagnetica: EN 55022
EN 55024
EN 61000-3-2
EN 61000-3-3
Direttiva 73/23/CEE sulle basse tensioni, modificata dalla direttiva 93/68/CEE
Sicurezza: EN 60950: 2000
Febbraio 2004
Marchi commerciali
Apple, Macintosh e PowerBook sono marchi o marchi registrati della Apple 
Computer, Inc. IBM e PS/2 sono marchi o marchi registrati della International 
Business Machines, Inc. Microsoft, PowerPoint e Windows sono marchi o marchi 
registrati della Microsoft Corporation. Digital Light Processing sono marchi o marchi 
registrati della Texas Instruments. Faroudja, DCDi, e TrueLife sono marchi o marchi 
registrati della Faroudja. InFocus e ScreenPlay sono marchi o marchi registrati della 
InFocus Corporation. 
Ver. 12-01
Avvertenza a norma FCC
Nota: in base alle prove su di esso eseguite, si è determinato che questo apparecchio è 
conforme ai limiti relativi ai dispositivi digitali di Classe B, secondo la Parte 15 della 
normativa FCC (Federal Communications Commission, ente federale USA per le 
telecomunicazioni). Questi limiti sono stati concepiti per offrire protezione 
ragionevole da interferenze distruttive in un impianto residenziale. Questo 
apparecchio genera, utilizza e può irradiare energia a radiofrequenza e se non viene 
installato e adoperato seguendo le istruzioni, può causare interferenza distruttiva per 
le comunicazioni radio. Tuttavia, non esiste alcuna garanzia che non si verificherà 
interferenza in un particolare impianto. Se questo apparecchio causasse interferenza 
distruttiva per la ricezione dei segnali radio o televisivi, determinabile spegnendo e 
riaccendendo l’apparecchio stesso, si invita l’utente a rimediare all’interferenza 
adottando una o più delle seguenti misure.
— Cambiare l’orientamento o la collocazione dell’antenna ricevente.
— Aumentare la separazione tra l’apparecchio e il ricevitore.
— Collegare l’apparecchio a una presa di corrente inserita in un circuito diverso da 
quello a cui è collegato il ricevitore.
— Rivolgersi al rivenditore o a un tecnico radiotelevisivo esperto.
L'effettuazione di modifiche o alterazioni non espressamente approvate dalla InFocus 
Corporation può comportare la revoca del diritto all'uso dell'apparecchiatura da 
parte dell'utente.
Canada
Questo apparecchio digitale di Classe B è conforme alla normativa canadese 
ICES-003.
Cet appareil numérique de la classe B est conforme à la norme NMB-003 du Canada.
Omologazioni
UL, CUL, NOM, IRAM, GOST, C-tick
Possono avere applicazione omologazioni specifiche a seconda del Paese. Fare riferi-
mento all'etichetta relativa alle certificazioni del prodotto. 
La InFocus si riserva il diritto di modificare le specifiche del prodotto e la sua dispo-
nibilità in qualsiasi momento e senza obbligo di preavviso.
"Caricamento dell'istruzione" significa che è necessario attendere finché il file non è caricato e pronto per la lettura online. Alcune istruzioni sono molto grandi e il tempo di caricamento dipende dalla velocità della tua connessione a Internet.
Sommario
1 Dichiarazione di conformità Fabbricante: InFocus Corporation, 27700B SW Parkway Ave. Wilsonville, Oregon 97070 USAUfficio europeo: Strawinskylaan 585, 1077 XX Amsterdam, Paesi BassiDichiariamo, sotto la nostra sola responsabilità, che questo proiettore è conforme alle seguenti direttive e norme: D...
2 Indice Introduzione 4 Collocazione del proiettore 6 Connessioni video 7 Collegamento di una periferica video 8 Visualizzazione di immagini video 9 Collegamento con un computer 11 Arresto del proiettore 12 Soluzione dei problemi di approntamento 12 Uso dei pulsanti del tastierino 20 Uso del telecom...
3 Considerazioni importanti per l’uso • Sistemare il proiettore orizzontalmente, evitando di inclinarlo di oltre 15 gradi. Vedere “Collocazione del proiettore” a pagina 6. • Posizionare il proiettore in un'area ben ventilata, con prese dell'aria e sfiati liberi da ostruzioni. Non collocare il proiet...
 
                     
                     
                     
                     
                     
                     
                     
                     
                     
                     
                     
                     
                     
                     
                     
                     
                     
                     
                     
                     
                     
                     
                     
                     
                     
                     
                     
                     
                     
                     
                     
                     
                     
                     
                     
                     
                     
                     
                                                                         
                                                                         
                                                                         
                                                                         
                                                                         
                                                                         
                                                                         
                                                                         
                                                                        