Pagina 1 - Omologazioni
                                                                            1 Dichiarazione di conformità Fabbricante: InFocus Corporation, 27700B SW Parkway Ave. Wilsonville, Oregon 97070 USAUfficio europeo: Strawinskylaan 585, 1077 XX Amsterdam, Paesi BassiDichiariamo, sotto la nostra sola responsabilità, che questo proiettore è conforme alle seguenti direttive e norme: D...
                                                                     
                                                                                            
                                    Pagina 2 - Indice
                                                                            2 Indice Introduzione 4 Collocazione del proiettore 6 Connessioni video 7 Collegamento di una periferica video 8 Visualizzazione di immagini video 9 Collegamento con un computer 11 Arresto del proiettore 12 Soluzione dei problemi di approntamento 12 Uso dei pulsanti del tastierino 20 Uso del telecom...
                                                                     
                                                                                            
                                    Pagina 3 - Considerazioni importanti per l’uso
                                                                            3 Considerazioni importanti per l’uso • Sistemare il proiettore orizzontalmente, evitando di inclinarlo di oltre 15 gradi. Vedere “Collocazione del proiettore” a pagina 6. • Posizionare il proiettore in un'area ben ventilata, con prese dell'aria e sfiati liberi da ostruzioni. Non collocare il proiet...
                                                                     
                                                                                            
                                    Pagina 4 - Introduzione; Dati tecnici del prodotto
                                                                            4 Introduzione Congratulazioni e grazie per avere scelto questo apparecchio di qualità superiore per la proiezione di immagini digitali. Il nuovo proiettore InFocus ® ScreenPlay™ 7210 è stato studiato per il cinema personale e stabilisce lo standard per la proiezione di immagini digitali ad alta def...
                                                                     
                                                                                            
                                    Pagina 5 - Pannello dei connettori; Resize
                                                                            5 Pannello dei connettori Il proiettore è dotato di otto connettori video: • due RGB RCA (SD/ED/HD a componenti) • due S-video • un RCA per segnale composito • un M1-DA (HD, RGBHV, HD a componenti, DVI e computer) • un VESA (HD, RGBHV, HD a componenti e computer) • un D5 (SD/ED/HD HD a componenti, R...
                                                                     
                                                                                            
                                    Pagina 6 - Collocazione del proiettore
                                                                            6 Collocazione del proiettore Per determinare il punto in cui collocare il proiettore occorre considerare vari fattori: le dimensioni e la forma dello schermo, l’ubicazione delle prese di corrente e la distanza tra il proiettore e il resto dell’apparecchiatura. Seguono alcune indicazioni generali. 1...
                                                                     
                                                                                            
                                    Pagina 7 - Connessioni video; Tabella 1: Connessioni video
                                                                            7 Connessioni video Si può collegare il proiettore a videoregistratori, lettori DVD, camcorder, fotocamere digitali, videogiochi, ricevitori HDTV e sintonizzatori TV. (Non è possibile collegare direttamente un cavo coassiale con il quale si ricevono programmi via cavo o satellitari, in quanto il seg...
                                                                     
                                                                                            
                                    Pagina 8 - Collegamento di una periferica video; Pb; Video; Collegamento del cavo di alimentazione; NOTA
                                                                            8 Collegamento di una periferica video Se la periferica video ha più di un’uscita, selezionare l’uscita di qualità più alta. Il segnale DVI offre la migliore qualità, seguito dai segnali componenti video, dal segnale S-video e infine dal segnale video composito. Se la periferica video è dotata di co...
                                                                     
                                                                                            
                                    Pagina 9 - Visualizzazione di immagini video; Power
                                                                            9 Visualizzazione di immagini video Togliere il cappuccio dalla lente. Premere il pulsante Power sulla parte superiore del proiettore. Il proiettore emette un segnale acustico se l’apposita funzione è attivata (pagina 30). Il LED di alimentazione si accende a luce verde lampeggiante e le ventole com...
                                                                     
                                                                                            
                                    Pagina 10 - Keystone; contrasto
                                                                            10 Girare l’anello di zoom e/o quello della messa a fuoco finché l’immagine non è nitida e alle dimensioni volute. Se l’immagine non è quadrata, correggere la distorsione trapezoidale con gli appositi pulsanti sul tastierino del proiettore. Premere il pulsante Keystone superiore o inferiore per rest...
                                                                     
                                                                                            
                                    Pagina 11 - Collegamento con un computer; Serial
                                                                            11 Collegamento con un computer Collegare un cavo VESA o M1 al connettore adatto del proiettore e alla porta video del computer. Se si usa un computer desktop, occorre prima scollegare dalla porta video il cavo del monitor. Collegare il cavo di alimentazione alla spina sul pannello posteriore del pr...
                                                                     
                                                                                            
                                    Pagina 12 - Arresto del proiettore; Risparmio energetico; Soluzione dei problemi di approntamento; Tabella 2: Stato del LED e significato; Significato
                                                                            12 Arresto del proiettore Risparmio energetico Il proiettore ha una funzione di risparmio energetico, accessibile dal menu Sistema, che spegne automaticamente la lampada se il proiettore non rileva alcun segnale per 20 minuti. Dopo altri 10 minuti in assenza di segnale, il proiettore si arresta. Se ...
                                                                     
                                                                                            
                                    Pagina 14 - A B
                                                                            14 Immagine non quadrata Correggere la distorsione trapezoidale con il pulsante Keystone del tastierino o menu Trapezio. L’immagine è quadrata L’immagine non si adatta a uno schermo con proporzione tra i lati pari a 16:9 Selezionare la proporzione 16:9 dal menu Immagine > Aspetto Schermo. L’immag...
                                                                     
                                                                                            
                                    Pagina 15 - COLOR
                                                                            15 1. I colori proiettati non corrispondono a quelli originali 2. I colori sono troppo tenui o troppo intensi3. L’immagine appare verdastra 1. Regolare il colore e/o la sfumatura, la temperatura dei colori, la luminosità, il contrasto mediante gli appositi menu2. Selezionare un altro valore per la g...
                                                                     
                                                                                            
                                    Pagina 16 - AA BB
                                                                            16 Immagine video alterata e sdoppiata Cambiare lo standard video dal menu Immagine > Avanzato. L’immagine è giusta La lampada non si accende e il LED lampeggia a luce rossa (pagina 12) Verificare che le aperture per l’aria non siano ostruite; lasciare raffreddare il proiettore per un minuto. Sco...
                                                                     
                                                                                            
                                    Pagina 19 - Se il problema persiste
                                                                            19 Se il problema persiste Per richiedere assistenza, è possibile visitare il nostro sito Web o chiamare il servizio clienti. Consultare il retro copertina per informazioni in merito. Questo prodotto è coperto da una garanzia limitata. Presso il rivenditore si può acquistare un piano di garanzia est...
                                                                     
                                                                                            
                                    Pagina 20 - Uso dei pulsanti del tastierino
                                                                            20 Uso dei pulsanti del tastierino La maggior parte dei pulsanti sono descritti dettagliatamente in altre sezioni; di seguito si riporta una breve descrizione delle loro funzioni. Power – per accendere (pagina 9) e spegnere (pagina 9) il proiettore. Menu – per aprire i menu a schermo (pagina 23). Se...
                                                                     
                                                                                            
                                    Pagina 21 - Uso del telecomando; Soluzione dei problemi relativi al telecomando
                                                                            21 Uso del telecomando Il telecomando è alimentato da due pile ministilo (AAA), in dotazione. Per installarle, aprire il coperchietto del vano portapile facendolo scorrere, allineare le estremità + e - delle pile, inserirle e riposizionare il coperchietto. Per usare il telecomando, puntarlo verso lo...
                                                                     
                                                                                            
                                    Pagina 22 - Ottimizzazione delle immagini video; Personalizzazione del proiettore; Impostazioni > Sistema
                                                                            22 Ottimizzazione delle immagini video Una volta collegata correttamente la periferica video e visualizzate sullo schermo del proiettore le immagini, è possibile ottimizzarle mediante i menu a schermo. Per informazioni generali sull’uso dei menu, vedere a pagina 23. • Regolare il parametro Aspetto s...
                                                                     
                                                                                            
                                    Pagina 23 - Uso dei menu
                                                                            23 Uso dei menu Per aprire i menu, premere il pulsante Menu sul tastierino del proiettore o sul telecomando. (I menu si chiudono automaticamente dopo 60 secondi se non si preme nessun pulsante.) Si visualizza il menu principale. Adoperare i pulsanti freccia per evidenziare il submenu prescelto e poi...
                                                                     
                                                                                            
                                    Pagina 24 - Menu Immagine
                                                                            24 Menu Immagine Per regolare una delle cinque impostazioni seguenti, evidenziarla, premere Select , usare i tasti freccia su e giù per modificarne il valore e poi premere select per confermare la modifica. Tutte le impostazioni predefinite dei menu sono elencate nella tabella a pagina 38. Trapezio ...
                                                                     
                                                                                            
                                    Pagina 25 - Letterbox
                                                                            25 16:9 : è l’impostazione predefinita, che non cambia la proporzione 16:9 ed è studiata per l’uso con immagini elaborate per grandi schermi televisivi. 4:3 : regola le dimensioni rispetto alla versione originale per adattarla a uno schermo con proporzione 4:3 standard. Se si proietta un’immagine or...
                                                                     
                                                                                            
                                    Pagina 27 - Impostazioni avanzate
                                                                            27 Impostazioni avanzate Le seguenti quattro opzioni sono pertinenti solo nel caso di computer o sorgenti HDTV. Fase : regola la fase della conversione digitale del segnale video. Tracking : regola la frequenza della conversione digitale del segnale video. Posizione Orizzontale/Verticale : regola la...
                                                                     
                                                                                            
                                    Pagina 28 - Temperatura Colore; Standard Video; VCR
                                                                            28 Spazio Colore : questa opzione vale solo per gli ingressi da computer e HDTV (non viene inclusa nel menu nel caso di sorgenti video). Permette di selezionare un insieme di colori specifico per il segnale video in ingresso. Quando il valore selezionato è Automatico, il proiettore determina automat...
                                                                     
                                                                                            
                                    Pagina 29 - Menu Impostazioni
                                                                            29 Menu Impostazioni Ingressi : permette di assegnare un ingresso specifico a uno dei pulsanti Source del telecomando e consente di attivare o disattivare l’opzione Ingresso Auto. Se quest’ultima non è selezionata, quando viene acceso il proiettore cerca automaticamente di collegarsi all’ultima sorg...
                                                                     
                                                                                            
                                    Pagina 31 - Manutenzione; Pulizia della lente
                                                                            31 Servizio : per usare una di queste funzioni, evidenziarla e premere Select . Azz. Fabbrica : dopo aver visualizzato una finestra di dialogo per la conferma, ripristina tutte le impostazioni (eccetto Ore lampada) ai valori predefiniti. Monoscopio : visualizza un monoscopio quando si preme il pulsa...
                                                                     
                                                                                            
                                    Pagina 32 - Sostituzione della lampada; Brightness; ATTENZIONE
                                                                            32 Sostituzione della lampada Il contaore nel menu Info registra il numero delle ore di funzionamento della lampada. Ventiquattro ore prima dell'esaurimento della lampada, a ogni avvio compare sullo schermo il messaggio "Cambiare lampada". Raggiunto il periodo massimo di funzionamento, la la...
                                                                     
                                                                                            
                                    Pagina 33 - Azzeramento del contaore della lampada; Uso dell’antifurto
                                                                            33 AVVERTENZE • Per prevenire ustioni, lasciare raffreddare il proiettore per almeno 60 minuti prima di sostituire la lampada . • Prestare attenzione a non fare cadere il modulo della lampada. L’ampolla può frantumarsi e causare lesioni personali. • Non toccare lo schermo della lampada; è in vetro e...
                                                                     
                                                                                            
                                    Pagina 34 - Appendice; Stato del LED rosso ed errori del proiettore; Tabella 3; Dimensioni dell’immagine proiettata; Stato del LED rosso
                                                                            34 Appendice Stato del LED rosso ed errori del proiettore Se il proiettore non funziona bene e il LED rosso lampeggia, vedere la Tabella 3 per determinare una possibile causa. I cicli di lampeggiamento si susseguono con pause di due secondi. Visitare il sito www.infocushome.com/support per ulteriori...
                                                                     
                                                                                            
                                    Pagina 35 - Compatibilità con la sorgente delle immagini; Compatibilità della sorgente di immagini
                                                                            35 Compatibilità con la sorgente delle immagini Tabella 5: Compatibilità della sorgente di immagini Video Componente e RGB HDTV (720p, 1035i, 1080p, 1080p a 24 Hz)DVI/HDCP per video digitale, anche criptatoComponente EDTV (scansione progressiva 480p, 576p), SECAM: video standard M, componente, compo...
                                                                     
                                                                                            
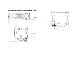
                                    Pagina 36 - Dimensioni del proiettore per il fissaggio al soffitto
                                                                            36 Dimensioni del proiettore per il fissaggio al soffitto 288,1 mm 64,9 mm 57,8 mm 53,7 mm 312,7 mm lunghezza totale con il copricavo opzionale: 411,5 mm dimensioni del copricavo opzionale: 315 x 100 x 82 mm 216 mm 221,4 mm 109,5 mm 3,6 mm
                                                                     
                                                                                            
                                    Pagina 37 - Dati tecnici del terminale RS-232; Configurazione delle comunicazioni
                                                                            37 Dati tecnici del terminale RS-232 Configurazione delle comunicazioni Per azionare il proiettore per mezzo di un pannello di controllo a cristalli liquidi, collegare un cavo RS-232 al connettore di controllo seriale del proiettore e quindi impostare la porta seriale del computer come segue. Format...
                                                                     
                                                                                            
                                    Pagina 38 - Comandi supportati; Funzione
                                                                            38 Comandi supportati Funzione Comando Gamma Default Aspetto schermo ARZ 0-40 = Nativo1 = 16:92 = 4:33 = Letterbox4 = Larghezza naturale 1 Suono automatico ACE 0-1 1 Accensione auto APO 0-1 0 Ingresso auto ASC 0-1 0 Vuoto BLK 0-1 0 Schermo vuoto BSC 0-20 = Nero1 = Blu2 = Bianco 0 Compensazione del b...