Pagina 2 - Indice; Lingua
Indice 2 Indicazioni per la sicurezza e avvertenze ................................................................. 6 Il Vostro contributo alla tutela dell'ambiente .......................................................... 14 Panoramica ................................................................
Pagina 5 - Installazione
Indice 5 Installazione ................................................................................................................... 105 Misure d'incasso ............................................................................................................ 105 Incasso in un mobile colonn...
Pagina 6 - Indicazioni per la sicurezza e avvertenze; Uso corretto
Indicazioni per la sicurezza e avvertenze 6 Il forno è conforme alle vigenti norme di sicurezza. Un uso impro-prio può comunque causare danni a persone e/o cose.Leggere attentamente le istruzioni d'uso e di montaggio prima dimettere in funzione il forno. Contengono informazioni importanti suincasso,...
Pagina 7 - Bambini
Indicazioni per la sicurezza e avvertenze 7 Bambini Servirsi della funzione di blocco accensione per impedire che i bambini possano accendere il forno da soli. Tenere lontano dal forno i bambini al di sotto degli otto anni, in al- ternativa sorvegliarli costantemente. I ragazzini più grandi e ...
Pagina 8 - Sicurezza tecnica; Un forno danneggiato può essere pericoloso per la sicurezza. Con-
Indicazioni per la sicurezza e avvertenze 8 Sicurezza tecnica Riparazioni o lavori di installazione e di manutenzione non corretta- mente eseguiti possono mettere seriamente in pericolo l'utente. La-vori di installazione e manutenzione nonché riparazioni possono es-sere eseguiti solo da personale ...
Pagina 9 - stenza tecnica autorizzata Miele.; Impiego corretto
Indicazioni per la sicurezza e avvertenze 9 Il diritto alla garanzia decade se il forno non viene riparato dall'assi- stenza tecnica autorizzata Miele. Solo con i pezzi di ricambio originali, Miele dà la garanzia di soddi- sfare le richieste di sicurezza. Sostituire eventuali pezzi difettosi sol...
Pagina 10 - o Calore
Indicazioni per la sicurezza e avvertenze 10 Lasciare lo sportello del forno chiuso se gli alimenti nel vano cottu- ra generano fumo per soffocare eventuali fiamme. Interrompere ilprocedimento, spegnendo il forno e staccare la spina. Aprire lo spor-tello solo quando il fumo si è dissolto. Oggett...
Pagina 12 - Per superfici in acciaio inox:; ciaio inossidabile come lavagna per magneti.; Pulizia e manutenzione; Lo sporco grosso presente nel vano cottura può causare la forma-
Indicazioni per la sicurezza e avvertenze 12 Per superfici in acciaio inox: Si potrebbe danneggiare il rivestimento ed eliminare il suo effetto protettivo antisporco. Non attaccare mai post-it, nastro adesivo tra-sparente o altri adesivi sulla superficie in acciaio. I magneti possono causare gra...
Pagina 13 - Accessori; La plastica della sonda termometrica può fondersi a temperature
Indicazioni per la sicurezza e avvertenze 13 Accessori Utilizzare esclusivamente accessori originali Miele. Se si montano o utilizzano altri accessori, il diritto alla garanzia e a prestazioni in ga-ranzia per vizi e/o difetti del prodotto decade. Miele garantisce la fornitura di pezzi di ricamb...
Pagina 14 - Il Vostro contributo alla tutela dell'ambiente; Smaltimento dell'imballaggio
Il Vostro contributo alla tutela dell'ambiente 14 Smaltimento dell'imballaggio L'imballaggio è pratico e protegge l'ap-parecchio da eventuali danni di traspor-to. I materiali utilizzati per l'imballaggiosono riciclabili, in quanto selezionati se-condo criteri di rispetto dell’ambiente edi facilità d...
Pagina 15 - Panoramica; Forno
Panoramica 15 Forno a Comandi b Chiusura sportello c Resistenza Calore superiore/Grill con ricevitore per la sonda termometrica sen-za cavo d Aperture per l'afflusso di vapore e Tubo di aspirazione sistema di evaporazione f Sonda termometrica wireless g Fotocamera h Griglia con 3 ripiani di introduz...
Pagina 16 - Comandi
Comandi 16 a Tasto On/Off nell'incavo Per accendere e spegnere il forno b Tasto sensore Per comandare il forno tramite di-spositivi terminali mobili c Sensore di prossimitàPer accendere la luce del vano cottu-ra e del display e per confermare isegnali acustici quando ci si avvicina d Display tou...
Pagina 17 - è situato in un incavo; Sensore di prossimità
Comandi 17 Tasto On/Off Il tasto On/Off è situato in un incavo e reagisce a contatto.Con questo tasto si accende e si spegneil forno. Sensore di prossimità Il sensore di prossimità si trova in alto asinistra sul pannello comandi. Il sensoredi prossimità rileva se ci si avvicina al di-splay touch a...
Pagina 18 - Tasti sensore; Tasto sensore Funzione; e toccare il tasto sensore. Infine si ac-
Comandi 18 Tasti sensore I tasti sensore reagiscono al contatto. A ogni contatto è associato un segnale acu-stico. Il segnale acustico può essere disattivato con l'impostazione Volume | Acusti- ca tasti | Off . Se si desidera che i tasti sensore reagiscano anche con forno spento, selezionarel'impo...
Pagina 19 - Display touch; Il display touch è suddiviso in diverse aree.; intestazione; compare a sinistra il percorso del menù. Le singole voci menù so-; centro; OK
Comandi 19 Display touch La superficie delicata del display touch si può graffiare a causa di oggetti appun-titi o taglienti.Toccare il display touch solo con le dita.Accertarsi che dietro il display touch non penetri acqua. Il display touch è suddiviso in diverse aree. Modalità 12:00 Programmi auto...
Pagina 20 - Simboli; A display compaiono i seguenti simboli:; Simbolo
Comandi 20 Simboli A display compaiono i seguenti simboli: Simbolo Significato Questo simbolo indica le informazioni e gli avvisi aggiuntivi perl'utilizzo. Confermare questa finestra informativa con OK . … Indicazione relativa alle voci menù precedenti che non sono piùvisualizzate nel percorso m...
Pagina 21 - Attività; arancione; Selezionare la voce menù; Immettere le cifre con il rullo numerico
Attività 21 Si gestisce il forno con il display touchtoccando la voce menù desiderata.La pressione di una possibile selezionecolora i rispettivi caratteri (parola e/osimbolo) in arancione . I campi per confermare una fase co-mando sono retroilluminati di colore verde (p.es. OK ). Selezionare la voce...
Pagina 23 - Dotazione; Targhetta dati; l'utilizzo delle funzioni del forno; Accessori di serie e su richiesta; Griglie di introduzione; per introdurre gli acces-
Dotazione 23 I modelli descritti in queste istruzionid'uso e di montaggio sono riportati sulretro di copertina. Targhetta dati La targhetta dati è visibile sul telaiofrontale a sportello aperto.Sulla targhetta sono riportati la defini-zione del modello del forno, il numero difabbricazione e i dati d...
Pagina 24 - Teglia universale HUBB 91:; Girarrosto
Dotazione 24 Teglia universale con griglia e disposi-tivo antiestrazione Teglia universale HUBB 91: Griglia HBBR 92: Inserire questi accessori sempre tra leasticelle di un ripiano nelle griglie di in-troduzione.Inserire la griglia sempre con la superfi-cie di appoggio rivolta verso il basso.Sui lati...
Pagina 25 - Montare e smontare le guide FlexiClip; Pericolo di ferimento a causa del-; Non; estrarre completamente le guide
Dotazione 25 Guide completamente estraibili Flexi-Clip HFC 92 È possibile utilizzare le guide completa-mente estraibili FlexiClip sui ripiani 1–3. Inserire completamente le guideFlexiClip nel vano cottura prima di ap-poggiarvi sopra gli accessori.Gli accessori poi si agganciano auto-maticamente tra ...
Pagina 26 - Stampi di cottura rotondi
Dotazione 26 Agganciare la guida FlexiClip all'asti-cella inferiore del ripiano (3.). Se dopo il montaggio le guide FlexiClipdovessero bloccarsi, la prima voltaestrarle agendo con un po' di forza. Procedere come segue per smontareuna guida FlexiClip: Introdurre completamente la guidaFlexiClip. ...
Pagina 27 - Pietra di cottura HBS 70; Sonda termometrica
Dotazione 27 Pietra di cottura HBS 70 Con la pietra di cottura si ottengono ri-sultati ottimali per le pietanze che devo-no avere una base ben cotta come piz-za, Quiche, pane, panini, impasti salati osimili. La pietra di cottura è in ceramica refrat-taria smaltata. Per disporre e togliere lepietanze...
Pagina 28 - Dispositivi di sicurezza; per la pulizia piroliti-; Superfici in PerfectClean; - Stampo rotondo forato standard e
Dotazione 28 Accessori per la pulizia e la manuten-zione - Compresse per la decalcificazione, tu- bo in plastica con supporto per decal-cificare il forno - Panno in microfibra universale Miele- Detergente per forno Miele Dispositivi di sicurezza - Blocco accensione (v. cap. “Impostazioni”, par. “S...
Pagina 29 - Al primo avvio; Disponibilità connessione WLAN
Al primo avvio 29 Miele@home Il forno è dotato di un modulo WLANintegrato. Per l'utilizzo sono necessari: - una rete WLAN- la app Miele- un account utente Miele. L'account utente si può creare tramite la appMiele. La app Miele guida l'utente nel collega-mento tra il forno e la rete domesticaWLAN.Dop...
Pagina 30 - Impostazioni di base; Impostare la lingua; Impostare la data; Concludere il primo avvio
Al primo avvio 30 Impostazioni di base È possibile eseguire le seguenti impo-stazioni per il primo avvio. Queste impo-stazioni possono essere di nuovo modi-ficate in un momento successivo (v. cap.“Impostazioni”). Pericolo di ferimento a causa del- le superfici calde.Il forno diventa molto caldo qu...
Pagina 32 - Pericolo di ferirsi a causa del va-
Al primo avvio 32 Dopodiché si attiva in automaticoun'immissione di vapore. Pericolo di ferirsi a causa del va- pore acqueo.Il vapore acqueo che fuoriesce è mol-to caldo.Non aprire lo sportello durante l'im-missione di vapore. Riscaldare il forno almeno per un'ora. Spegnere il forno dopo almeno ...
Pagina 33 - Impostazioni; Elenco impostazioni; Voce menù; * Impostazione di serie
Impostazioni 33 Elenco impostazioni Voce menù Impostazioni possibili Lingua ... | deutsch | english | ... Posizione Orologio Visualizzazione On * | Off | Spegnimento notturno Tipo di orologio Analogico * | Digitale 24h / 12h 24 h * | 12 h (am/pm) Impostare DataIlluminazione On“On” per 15 second...
Pagina 36 - Visualizzazione; Data
Impostazioni 36 Accedere al menù “Impostazio-ni” Nel menù Impostazioni è possibile personalizzare il vostro forno, adattandole impostazioni di serie alle vostre esi-genze. Ci si trova nel menù principale. Selezionare Impostazioni . Selezionare l'impostazione desidera-ta. È possibile con...
Pagina 37 - Illuminazione; Luminosità; Volume; Segnali acustici
Impostazioni 37 Illuminazione - On La luce del vano rimane accesa duran-te l'intero procedimento di cottura. - “On” per 15 secondi La luce del vano cottura si spegne do-po 15 secondi mentre è in corso il pro-cesso di cottura. Selezionando il tastosensore la luce del vano cottura si riaccende per ...
Pagina 38 - Acustica tasti; Unità di misura; Temperatura; Booster; Pirolisi
Impostazioni 38 Acustica tasti Il volume dell'acustica tasti che si senteogni volta che si seleziona un tasto sen-sore, è raffigurato da una barra a seg-menti. - Volume massimo - L'acustica tasti è disattivata. Melodia di benvenuto È possibile attivare o disattivare l...
Pagina 39 - Fotocamera nel vano cottura; Se è stata selezionata l'impostazione; Luci on all' avvicinamento
Impostazioni 39 L'acqua di condensa può danneggia-re i mobili adiacenti e il piano di lavo-ro e corrodere il forno internamente.Se si tengono in caldo gli alimenti nelvano cottura, con l'impostazione A tempo l'umidità dell'aria aumenta e si deposita sul pannello comandi e suifrontali dei mobili oppu...
Pagina 40 - Sicurezza; Blocco accensione; Il blocco tasti è attivato. Toccare; Riconoscimento frontale mobile; Disattivare il riconosci-
Impostazioni 40 Sicurezza Blocco accensione Il blocco accensione impedisce che ilforno venga inavvertitamente acceso.Con il blocco di accensione attivato èpossibile impostare subito un allarme eun timer e usare la funzione Mobile-Start. Il blocco accensione rimane attivo an-che dopo un'interruzion...
Pagina 41 - Comando remoto; Attivare MobileStart; Display SuperVision
Impostazioni 41 - Attivare Questa impostazione è visibile solo seMiele@home è disattivato. La funzio-ne WLAN viene nuovamente attivata. - Disattivare Questa impostazione è visibile solo seMiele@home è attivato. Miele@homeresta configurato, mentre la funzioneviene WLAN disattivata. - Stato connession...
Pagina 42 - Display in standby; RemoteUpdate; Attivazione/disattivazione
Impostazioni 42 Display in standby La funzione SuperVision è disponibile anche in standby. Il presupposto è chela visualizzazione dell'ora sia attiva ( Im- postazioni | Orologio | Visualizzazione | On ). - On Gli elettrodomestici attivi connessi alsistema Miele@home sono semprevisualizzati. - Sol...
Pagina 43 - Versione software; Informazioni legali; Rivenditori; Modalità fiera; Impostazioni di serie
Impostazioni 43 L'aggiornamento può durare alcuni minu-ti. Tenere conto di quanto segue con il Re-moteUpdate: - se non compare alcuna segnalazione non è disponibile alcun aggiornamen-to. - Un aggiornamento installato non può essere reso retroattivo. - Non spegnere il forno durante l'aggior- namento....
Pagina 44 - Allarme e timer; Usare la funzione Allarme
Allarme e timer 44 Con il tasto sensore è possibile impo- stare un tempo breve (p.es. per la cottu-ra delle uova) oppure un allarme, vale adire un'ora precisa. È possibile inoltre impostare contem-poraneamente due allarmi, due tempibrevi (timer) oppure un allarme e untempo breve. Usare la funzione...
Pagina 45 - Usare la funzione Timer; Impostare il timer
Allarme e timer 45 Usare la funzione Timer Il timer è utile per controllare un pro- cedimento di cottura a parte, p.es. lacottura di uova.È inoltre possibile usare il timer anchese sono stati contemporaneamente im-postati tempi per l'avvio o l'interruzioneautomatici di un procedimento di cottu-ra ...
Pagina 46 - Menù principale e sottomenù; Menù
Menù principale e sottomenù 46 Menù Valore pro- posto Area Modalità Thermovent plus 160 °C 30–250 °C Calore super./inferiore 180 °C 30–280 °C Cottura con vapore Cottura con vapore + Arrostire 160 °C 130–230 °C Cott. con vapore + Therm. plus 160 °C 130–250 °C Cott.con vapore +...
Pagina 48 - Consigli per risparmiare energia; Procedimenti di cottura
Consigli per risparmiare energia 48 Procedimenti di cottura - Se possibile utilizzare i programmi au- tomatici per preparare le pietanze. - Estrarre dal vano tutti gli accessori che non servono per il procedimentodi cottura. - In genere scegliere la temperatura più bassa indicata nella ricetta o nel...
Pagina 49 - Sfruttamento del calore residuo; - Se per un procedimento di cottura si è; zione
Consigli per risparmiare energia 49 Sfruttamento del calore residuo - Per processi di cottura con tempera- ture oltre i 140 °C e durate di cotturaoltre i 30 minuti, ca. 5 minuti primadel termine del processo di cottura èpossibile ridurre la temperatura a unatemperatura minima. Il calore residuoprese...
Pagina 50 - Uso
Uso 50 Accendere il forno. Appare il menù principale. Introdurre la pietanza nel vano cottu-ra. Selezionare Modalità . Selezionare la modalità desiderata. Compaiono la modalità e la temperaturaproposta. Modificare la temperatura propostase necessario. La temperatura proposta viene memo...
Pagina 51 - Impostare durate di cottura
Uso 51 Impostare durate di cottura Il risultato di cottura può essere com-promesso se tra l'introduzione deglialimenti da preparare e l'ora di avviotrascorre un lasso di tempo eccessi-vo. Gli alimenti freschi possono subi-re una modifica di colore e andare ad-dirittura a male.Per la cottura di pane ...
Pagina 52 - Preriscaldare il vano cottura
Uso 52 Interrompere il procedimento dicottura Se si interrompe un procedimento dicottura, spegnere il riscaldamento e laluce del vano cottura. Le durate di cot-tura impostate vengono cancellate. Interrompere un procedimento di cot-tura senza durata impostata Selezionare Uscire . Appare il menù pri...
Pagina 53 - Preriscaldare
Uso 53 Attivare o disattivare Booster per unprocesso di cottura Se è stata selezionata l'impostazione Booster | On , è possibile disattivare singo- larmente la funzione per un procedimentodi cottura.Inoltre è possibile attivare singolarmen-te la funzione per un procedimento dicottura se è stata sel...
Pagina 54 - Crisp function; Attivare Crisp function; Cambiare modalità
Uso 54 Crisp function L'utilizzo di questa funzione Crisp func- tion (riduzione dell'umidità) è utile per pietanze come p.es. quiche, pizza, tortein teglia con farcia umida o muffin.In particolare il pollame forma una cro-sticina saporita con questa funzione. Attivare Crisp function La funzione Cris...
Pagina 55 - Pietanze adatte; impasto al lievito; lievita meglio se il; Pane e panini; lievitano meglio se il va-; carne; Usare le ricette allegate
Cottura con vapore 55 Il forno è dotato di un sistema di evapo-razione per l'apporto di umidità ai pro-cessi di cottura. Per cuocere pane e dol-ci, arrostire o cuocere con la modalità Cottura con vapore l'afflusso ottimiz- zato di vapore e la guida aria garantisco-no un risultato di cottura e dora...
Pagina 56 - Impostare la temperatura
Cottura con vapore 56 Avviare un procedimento di cot-tura con Cottura con vapore È normale che nel corso di un'immis-sione di vapore sulla lastra interna del-lo sportello si depositi dell'umidità.Questo deposito di umidità evaporanel corso della cottura. Preparare la pietanza e infornarla. Selez...
Pagina 57 - Confermare con; Attivare le immissioni di vapore; Automatico; Dopo l'immissione di vapore; Manuale; è retroilluminato di verde.
Cottura con vapore 57 Preparare l'acqua e avviare il procedi-mento di aspirazione Riempire un recipiente con la quantitàdi acqua potabile richiesta Aprire lo sportello. Ribaltare verso di sé il tubicino diaspirazione a sinistra sotto il pannello. Immergere il tubicino di aspirazionenel recip...
Pagina 58 - Con timer; Evaporazione acqua residua
Cottura con vapore 58 Attendere la fase di riscaldamento af-finché il vapore acqueo si distribuiscauniformemente nell'aria riscaldata delvano cottura. Suggerimento: Per l'ora delle immissio- ni di vapore orientarsi con le indicazioniriportate nelle ricette del ricettario alle-gato oppure nella app M...
Pagina 60 - Categorie
Programmi automatici 60 I numerosi programmi automatici ac-compagnano l'utente in modo conforte-vole e sicuro al raggiungimento di risul-tati di cottura ottimali. Categorie I programmi automatici sono suddi- visi in categorie per una migliore panora-mica. Selezionare il programma adattoalla pietan...
Pagina 61 - Selezionare; Selezionare
Programmi automatici 61 Ricerca (a seconda della lingua)Sotto Programmi automatici è possibile ri- cercare il nome delle categorie e i pro-grammi automatici.In questo caso si tratta di una ricercadel testo completo ma è possibile ricer-care anche parti di termini.Ci si trova nel menù principale. S...
Pagina 62 - Scongelare; Pericolo di infezioni a causa della; Suggerimenti; - Per scongelare pollame utilizzare la
Applicazioni speciali 62 Inoltre in questo capitolo ci sono infor-mazioni relative alle seguenti applicazio-ni: - Scongelare- Essiccazione- Riscaldare stoviglie- Lievitazione impasto- Cottura a basse temperature- Programma Shabbat- Tenere in caldo- Conservazione- Prodotti surgelati/alimenti precotti...
Pagina 63 - Essiccazione; Prelevare gli alimenti essiccati
Applicazioni speciali 63 Essiccazione L'essiccazione è un tipo di conservazio-ne tradizionale ottimo per frutti, alcunitipi di verdura ed erbette.Il presupposto è che frutta e verdurasiano fresche e mature e non presentinopunti di ammaccatura. Preparare gli alimenti da essiccare pe-landoli e togli...
Pagina 64 - Riscaldare stoviglie
Applicazioni speciali 64 Riscaldare stoviglie Preriscaldando le stoviglie gli alimentinon si raffreddano così rapidamente. Utilizzare stoviglie resistenti alle altetemperature. Inserire la griglia al ripiano 1 e disporvisopra le stoviglie da riscaldare. A se-conda delle dimensioni delle stoviglieè...
Pagina 65 - Cottura a basse temperature
Applicazioni speciali 65 Cottura a basse temperature Questo procedimento Cottura a basse temperature è particolarmente indicato per cuocere a puntino tagli teneri di car-ne di manzo, maiale, vitello o agnello.Arrostire la carne dapprima entro brevetempo con temperature molto alte e inmodo uniforme t...
Pagina 66 - Programma Shabbat
Applicazioni speciali 66 Usare la modalità Calore super./infe-riore Orientarsi con le indicazioni riportatenella tabella di cottura alla fine di questodocumento. Utilizzare la teglia universale con grigliaappoggiata sopra. Inserire la teglia universale con grigliaal ripiano 1. Selezionare Modali...
Pagina 68 - Conservazione; sempre; Conserve di frutta e verdura
Applicazioni speciali 68 Conservazione Pericolo di infezioni a causa della formazione di germi.Con un solo procedimento di conser-vazione di legumi e carne le spore delbatterio clostridium botulinum nonvengono soppresse in modo sufficien-te. In questo modo si possono formarele tossine che causano ...
Pagina 70 - MyMiele; Aggiungere immissioni; Cancellare immissioni
MyMiele 70 Sotto MyMiele si possono salvare le applicazioni utilizzate di frequente.Soprattutto con i programmi automaticinon è più necessario scorrere tutti i pun-ti del menù per avviare un programma. Suggerimento: Sotto MyMiele è anche possibile stabilire delle voci del menùcome schermata iniz...
Pagina 71 - Programmi personalizzati
Programmi personalizzati 71 È possibile creare e salvare max. 20 pro-grammi personalizzati. - È possibile combinare max. 10 fasi di cottura per descrivere con precisionelo svolgimento delle ricette preferiteoppure di quelle utilizzate più frequen-temente. Per ogni fase di cottura sele-zionare le imp...
Pagina 72 - Modificare le fasi di cottura
Programmi personalizzati 72 Avviare i programmi personaliz-zati Introdurre la pietanza nel vano cottu-ra. Selezionare Programmi personalizzati . Scegliere il programma desiderato. A seconda delle impostazioni del pro-gramma compaiono le seguenti vocimenù: - Avvio immediato Il programma si av...
Pagina 74 - Cuocere pane e dolci; - In generale si possono utilizzare la gri-; Usare carta da forno
Cuocere pane e dolci 74 Il trattamento delicato degli alimentigiova alla salute.Torte, pizze, patate fritte e alimenti si-mili dovrebbero risultare dorati e nontroppo scuri. Suggerimenti per cuocere pane,impasti e dolci - Impostare la durata di cottura. La cot- tura di pane e dolci non deve esserese...
Pagina 75 - Indicazioni relative alle modalità
Cuocere pane e dolci 75 Indicazioni relative alle modalità Un elenco di tutte le modalità con le ri-spettive proposte di valore è riportato alcapitolo “Menù principale e sottomenù”. Utilizzare Programmi automatici Seguire le indicazioni visualizzate a di-splay. Utilizzare Thermovent plus È p...
Pagina 76 - Arrostire; Consigli per la cottura
Arrostire 76 Consigli per la cottura - Si possono utilizzare tutte le stoviglie in materiale termoresistente comep.es. casseruole, pentole, pirofile invetro, filo o sacchetti per arrosti, pen-tole in terracotta, teglia universale,griglia e/o teglia per grigliare e arrosti-re (se disponibile) sulla t...
Pagina 78 - Funzionamento
Arrostire 78 Sonda termometrica L’impiego della sonda termometricaconsente di controllare con precisione iprocedimenti di cottura. Funzionamento La punta metallica della sonda viene in-serita completamente nell'alimento finoall'impugnatura. La punta in metallo èdotata di un sensore che rileva la cos...
Pagina 79 - Possibilità di utilizzo; Importanti indicazioni sull'uso
Arrostire 79 Possibilità di utilizzo Con alcuni programmi automatici e ap-plicazioni speciali si richiede l'utilizzodella sonda termometrica.Inoltre la sonda può essere utilizzata an-che con i programmi personalizzati econ le seguenti modalità d'uso: - Arrostire - Thermovent plus - Cottura i...
Pagina 80 - - Nel caso di carne ricca di venature di; Utilizzare la sonda termometrica; Chiudere lo sportello.
Arrostire 80 - La punta della sonda non deve tocca- re l'osso e non deve essere introdottain parti particolarmente grasse. Leparti grasse e le ossa possono causa-re lo spegnimento anticipato. - Nel caso di carne ricca di venature di grasso selezionare il valore più alto delrange di temperatura inter...
Pagina 81 - Se al raggiungimento; Indicazione durata residua
Arrostire 81 Suggerimento: Se al raggiungimento della temperatura interna l'alimento nonfosse ancora cotto al punto giusto, infi-lare la sonda in un altro punto oppureaumentare la temperatura interna e ripe-tere il procedimento. Avviare più tardi un procedimento dicottura con la sonda termometrica L...
Pagina 82 - Grigliare; Consigli per grigliare; Scegliere la temperatura
Grigliare 82 Pericolo di ferimento a causa del- le superfici calde.Se si griglia con lo sportello del fornoaperto, l'aria del vano particolarmen-te calda non viene più convogliata au-tomaticamente alla ventola di raffred-damento e raffreddata. Gli elementidi comando diventano caldi.Chiudere quindi...
Pagina 83 - Per la
Grigliare 83 Selezionare la durata di cottura Grigliare fette di carne e di pesce pia-ne per ca. 6-8 minuti per lato.Accertarsi che le fette siano dellostesso spessore affinché i tempi dicottura non siano troppo differentil'uno dall'altro. Controllare la cottura al termine delladurata più brev...
Pagina 84 - Grigliare con il girarrosto
Grigliare 84 Grigliare con il girarrosto È possibile utilizzare il girarrosto solocon le modalità Girarrosto grande e Girarrosto piccolo . Il girarrosto può portare al massimo 5kg. Fissare i supporti del girarrosto infilan-doli lateralmente sulla teglia universalefinché si agganciano. Fi...
Pagina 85 - Detergenti non idonei
Pulizia e manutenzione 85 Pericolo di ferimento a causa del- le superfici calde.Il forno diventa molto caldo quando èin funzione. È quindi possibile bru-ciarsi a contatto con le resistenze, ilvano cottura e gli accessori.Attendere che le resistenze, il vanocottura e gli accessori si siano raf-fred...
Pagina 86 - Rimuovere lo sporco normale
Pulizia e manutenzione 86 Rimuovere lo sporco normale Intorno al vano cottura come guarni-zione verso la lastra dello sportello èapplicata una guarnizione delicata infilamenti di vetro che si può danneg-giare strofinandola o fregandola.Se possibile evitare di pulire la guar-nizione delicata in filam...
Pagina 87 - Pulire il vano cottura con Pirolisi; Preparare la pulizia pirolitica; – Griglia HBBR 92
Pulizia e manutenzione 87 Pulire il vano cottura con Pirolisi Anziché a mano è possibile pulire il vanocottura con la funzione Pirolisi . Per la pulizia pirolitica il vano cottura siriscalda a oltre 400 °C. La temperaturaelevata riduce in cenere i residui di spor-co.Sono disponibili 3 livelli di...
Pagina 88 - Avviare la pulizia pirolitica; Avviare subito la pulizia pirolitica
Pulizia e manutenzione 88 Avviare la pulizia pirolitica Pericolo di ferirsi a causa di vapo- ri nocivi.Con la pulizia pirolitica è possibileche vengano esalati vapori che pos-sono causare l'irritazione delle muco-se.Durante la pulizia pirolitica, non sof-fermarsi a lungo in cucina e impedirea bamb...
Pagina 89 - Concludere la pulizia pirolitica; e suona un segnale acustico.; I segnali acustico e ottico si spengono.; Smontare le guide FlexiClip
Pulizia e manutenzione 89 Concludere la pulizia pirolitica Trascorsa la durata residua, sul displayappare l'avviso che lo sportello è sbloc-cato.Quando lo sportello è sbloccato appare Fine e suona un segnale acustico. Confermare con OK . Selezionare Chiudere . Spegnere il forno. I segnali acus...
Pagina 90 - Svolgimento della decalcificazione; ficazione; Eseguire la decalcificazione
Pulizia e manutenzione 90 Decalcificazione Il sistema di evaporazione dovrebbe esse-re regolarmente decalcificato anche in ba-se al grado di durezza dell'acqua.È possibile eseguire il procedimento didecalcificazione in qualsiasi momento.Dopo un numero preciso di procedimentidi cottura verrà automati...
Pagina 91 - fase di azione; guire lo scorrere del tempo.; primo procedimento di risciac-
Pulizia e manutenzione 91 Sistemare il recipiente con il liquidodecalcificante sul fondo del vano cot-tura. Infilare un'estremità del tubo con iltubo di aspirazione. Introdurre l'altraestremità del tubo fino in fondo nelcontenitore con il prodotto decalcifi-cante e fissarlo al contenitore con la...
Pagina 92 - zo procedimento di risciacquo
Pulizia e manutenzione 92 Sistemare il recipiente di nuovo nelvano cottura e fissare il tubo in plasti-ca nel recipiente. Confermare con OK . Procedere allo stesso modo per il ter- zo procedimento di risciacquo . Lasciare la teglia universale nel vanocottura durante l'evaporazione dell'ac-qua ...
Pagina 93 - Smontare lo sportello; Aprire lo sportello completamente.
Pulizia e manutenzione 93 Smontare lo sportello Lo sportello pesa ca. 14kg. Lo sportello del forno è collegato allecerniere con dei supporti.Prima che lo sportello possa esseresganciato da tali supporti, sbloccare lestaffe d'arresto situate sulle due cernie-re. Aprire lo sportello completamente. ...
Pagina 94 - Pericolo di ferirsi a causa dello
Pulizia e manutenzione 94 Smontare lo sportello Lo sportello è composto da un sistemaaperto di 4 lastre di vetro rivestite inparte da materiale che riflette il calore.Durante il funzionamento l'aria vieneconvogliata all'interno dello sportelloper raffreddare il vetro esterno.Se tra le lastre di vetr...
Pagina 95 - sollevare la lastra; leggermente; ed
Pulizia e manutenzione 95 sollevare la lastra leggermente ed estrarla dal listello in plastica. Rimuovere la guarnizione. Sollevare leggermente la lastra supe-riore delle due centrali ed estrarla. Sollevare leggermente la lastra infe-riore delle due centrali ed estrarla. Pulire le lastre d...
Pagina 96 - Riapplicare la guarnizione.
Pulizia e manutenzione 96 Ruotare verso l'interno i dispositivi diblocco in modo che poggino sulla la-stra inferiore delle due centrali. Inserire la lastra superiore delle duecentrali in modo che il Mat.-Nr. sialeggibile (vale a dire non in modo spe-culare).La lastra dello sportello deve poggiar...
Pagina 97 - Montare lo sportello; montaggio; seguire la procedura
Pulizia e manutenzione 97 Montare lo sportello Afferrare lo sportello dai lati e aggan-ciarlo sui supporti delle cerniere.Accertarsi che lo sportello non sia inposizione obliqua. Aprire lo sportello completamente. Lo sportello potrebbe staccarsi daisupporti e danneggiarsi se le staffed'arresto n...
Pagina 102 - Riaccendere il forno.
Cosa fare se... 102 Problema Causa e rimedio Il forno si è spento au-tomaticamente. Il forno si spegne automaticamente per motivi di rispar-mio energetico se dopo la sua accensione o al termine diun procedimento di cottura entro un determinato temponon segue alcun comando. Riaccendere il forno. La...
Pagina 103 - È stata selezionata l'impostazione; Se lo si desidera. selezionare l'impostazione; La luce del vano cottura è difettosa.
Cosa fare se... 103 Problema Causa e rimedio La luce del vano cottu-ra è spenta o non siaccende. È stata selezionata l'impostazione Illuminazione | Off . Accendere l'illuminazione del vano cottura per 15 se-condi con il tasto sensore . Se lo si desidera. selezionare l'impostazione Illuminazi...
Pagina 104 - Assistenza tecnica; Contatti in caso di guasto
Assistenza tecnica 104 Sotto www.miele.it/c/service-10.htmsi possono leggere le informazioni rela-tive alla risoluzione autonoma di guastie ai pezzi di ricambio Miele. Contatti in caso di guasto In caso di guasti che non si è in grado dirisolvere da soli, contattare il negoziospecializzato Miele o i...
Pagina 105 - Le misure sono espresse in mm.; Incasso in un mobile colonna o base
Installazione *INSTALLATION* 105 Misure d'incasso Le misure sono espresse in mm. Incasso in un mobile colonna o base Se l'apparecchio viene installato sotto un piano cottura, attenersi alle indicazionirelative all'incasso e all'altezza del piano cottura.Il listello di compensazione HAL 90 è acquista...
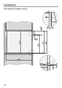
Pagina 107 - Vista laterale nel mobile base
Installazione *INSTALLATION* 107 Vista laterale nel mobile base Il listello di compensazione HAL 90 è disponibile come accessorio su richiesta. Fissare il listello di compensazione HAL nella sezione del mobile sotto il piano dilavoro.
Pagina 108 - Allacciamenti e aerazione; Vista frontale
Installazione *INSTALLATION* 108 Allacciamenti e aerazione a Vista frontale b Lunghezza cavo di alimentazione = 2.000 mm c Nessun allacciamento in questa area d Sezione di aerazione min. 150 cm ²
Pagina 109 - Montare il forno; Allacciare il forno alla rete elettrica.
Installazione *INSTALLATION* 109 Montare il forno Per questioni di sicurezza, il forno de-ve essere usato solo se incassato. Per funzionare correttamente il fornoha bisogno che affluisca una quantitàsufficiente di aria fresca. L'aria freddanecessaria non deve essere riscalda-ta eccessivamente da alt...
Pagina 110 - Allacciamento elettrico; collegamento a una presa; sono riportati sulla targhetta
Installazione *INSTALLATION* 110 Allacciamento elettrico Pericolo di ferirsi! Riparazioni o lavori di installazione edi manutenzione non eseguiti corret-tamente possono mettere seriamen-te in pericolo l'utente, per i qualiMiele non si ritiene responsabile. L'allacciamento alla rete elettrica puòes...
Pagina 112 - Tabelle per la cottura; Impasto soffice; Dolci/Prodotti da forno; CF
Tabelle per la cottura 112 Impasto soffice Dolci/Prodotti da forno (accessori) [°C] [min] CF Muffin (1 teglia) 150–160 – 2 25–35 – Muffin (2 teglie) 150–160 – 1+3 30–40 2 – Small cake (1 teglia)* 140 – 1 30–40 – 160 1 – 2 20–30 – Small cake (2 teglie)* 150 – 1+3 30–40 – Torta Mar...
Pagina 113 - Impasto lavorato
Tabelle per la cottura 113 Impasto lavorato Dolci/Prodotti da forno (accessori) [°C] [min] CF Biscotti (1 teglia) 140–150 – 1 20–30 – 150–160 – 2 25–35 – Biscotti (2 teglie) 140–150 – 1+3 25–35 2 – Biscotti di pasta frolla (1 teglia)* 140 – 1 35–45 – 160 1 – 2 20–30 – Biscotti di...
Pagina 114 - Impasto al lievito
Tabelle per la cottura 114 Impasto al lievito Dolci/Prodotti da forno (accessori) [°C] [min] CF Gugelhupf (ciambellone) (stampo perciambellone, 24 cm) 160–170 1 45–55 – 160–170 1 50–60 – Stollen (dolce tipico tedesco) 150–160 – 1 50–60 – 160–170 1 45–55 – Torta sbrisolona c...
Pagina 115 - Impasto olio e ricotta; Impasto per Pan di Spagna
Tabelle per la cottura 115 Impasto olio e ricotta Dolci/Prodotti da forno [°C] [min] CF Torta alla frutta (teglia) 160–170 – 2 40–50 – 170–180 – 2 40–50 – Saccottini di mele/chiocciole all'uvet-ta (1 teglia) 160–170 2 25–35 Saccottini di mele/chiocciole all'uvet-ta (2 teglie) 1...
Pagina 116 - Impasti per bignè, pasta sfoglia, meringhe
Tabelle per la cottura 116 Impasti per bignè, pasta sfoglia, meringhe Dolci/Prodotti da forno [°C] [min] CF Bignè (1 teglia) 170–180 – 1 30–40 – 160–170 – 1 40–50 1 2 Saccottini di pasta sfoglia (1 teglia) 170–180 – 2 20–30 – Saccottini di pasta sfoglia (2 teglie) 170–180 – 1+3 2...
Pagina 117 - Sfiziosità salate; Pietanza
Tabelle per la cottura 117 Sfiziosità salate Pietanza (accessori) [°C] [min] CF Crostata salata (teglia) 220–230 3 1 30–40 180–190 – 1 40–50 Torta salata alle cipolle (teglia) 180–190 3 2 25–35 – 170–180 – 2 30–40 Pizza, impasto al lievito (teglia) 170–180 2 30–40 ...
Pagina 118 - Manzo; Carne di maiale, polpette
Tabelle per la cottura 118 Manzo Pietanza (accessori) [°C] [min] [°C] Brasato di manzo, ca. 1 kg(casseruola con coperchio) 2 150–160 3 1 120–130 5 – 2 170–180 3 1 120–130 5 – 2 170–180 – 1 160–180 6 – Filetto di manzo, ca. 1 kg(teglia universale) 2 180–190 3 1 25–60 45–75 F...
Pagina 119 - Vitello
Tabelle per la cottura 119 Vitello Pietanza (accessori) [°C] [min] [°C] Brasato di vitello, ca. 1,5 kg(casseruola con coperchio) 2 160–170 3 1 120–130 4 – 2 170–180 3 1 120–130 4 – Filetto di vitello, ca. 1 kg(teglia universale) 2 160–170 3 1 30–60 45–75 Filetto di vitello “r...
Pagina 120 - Maiale; Salsiccia
Tabelle per la cottura 120 Maiale Pietanza (accessori) [°C] [min] [°C] Arrosto di maiale/arrosto di coppa,ca. 1 kg (casseruola con coperchio) 160–170 1 130–140 5 80–90 180–190 1 140–150 5 80–90 Arrosto di maiale con cotica, ca. 2kg (casseruola) 180–190 1 140–150 6,7,8 80–90 ...
Pagina 123 - Indicazioni per organismi di controllo; Pietanze test
Indicazioni per organismi di controllo 123 Pietanze test secondo EN 60350-1 Pietanze test (accessori) [°C] [min] CF Small Cake (1 teglia universale 1 ) 140 – 1 30–40 – 160 4 – 2 20–30 – Small Cake (2 teglie universali 1 ) 150 – 1+3 30–40 – Biscotti di pasta frolla (1 teglia univer-sa...
Pagina 124 - Classe di efficienza energetica secondo EN 60350-1; - La misurazione avviene nella modalità; Scheda per forni a uso domestico
Indicazioni per organismi di controllo 124 Classe di efficienza energetica secondo EN 60350-1 La misurazione della classe di efficienza energetica avviene ai sensi di EN60350-1. Classe di efficienza energetica: APer eseguire la misurazione osservare le seguenti indicazioni: - La misurazione avviene ...
Pagina 125 - Dati tecnici; Dichiarazione di conformità; Banda di frequenza del modulo WLAN; Diritti d'autore e licenze per il modulo di comunicazione
Dati tecnici 125 Dichiarazione di conformità Miele dichiara che questo forno è conforme alla direttiva 2014/53/UE. Il testo completo della dichiarazione di conformità UE è disponibile ai seguenti indi-rizzi internet: - Prodotti, download, www.miele.it- Service, richiedere informazioni, istruzioni d'...
Pagina 126 - Diritti d'autore e licenze
Dati tecnici 126 Diritti d'autore e licenze Per usare e gestire il prodotto, Miele utilizza software propri o di terzi non soggettiad una cosiddetta condizione di licenza Open Source. Questo software/questecomponenti software sono protetti dal punto di vista dei diritti. Sono tutelati i poteriin cap...