Gaggenau CG 290-210 - Manuale d'uso
 
                
                                    Piano cottura Gaggenau CG 290-210 – Manuale d'uso, leggi gratuitamente online in formato PDF. Speriamo che questo ti aiuti a risolvere eventuali dubbi. Se hai ulteriori domande, contattaci tramite il modulo di contatto.
Indice:
- Pagina 4 – Imballaggio e apparecchi usati
- Pagina 5 – INDICE
- Pagina 6 – Avvertenze sulla sicurezza
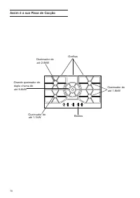
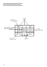
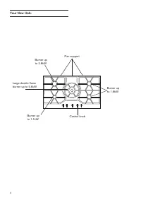
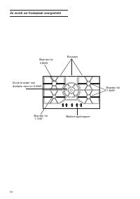
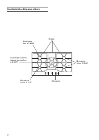
- Pagina 8 – Bruciatori a gas
- Pagina 10 – Consigli per cucinare; Griglia supplementare
- Pagina 11 – Avvertenze d'uso riguardanti la cottura; SÌ
- Pagina 12 – Relative alla pulizia ed alla conservazione:
- Pagina 13 – Problemi e soluzioni
- Pagina 14 – Condizioni di garanzia
GAGGENAU HAUSGERÄTE GMBH
www.gaggenau.com
Carl-Wery-Straße
D-81739 München
de Bedienungsanleitung
fr Instructions d'utilisation
it Manuale di istruzioni
es Instrucciones de funcionamiento
nl  Gebruiksaanwijzing
pt   Instruções para o funcioamento
CG 290
en Operating instructions
tr Kullanma K
I
lavuzu
Cod. 9000304280 D
"Caricamento dell'istruzione" significa che è necessario attendere finché il file non è caricato e pronto per la lettura online. Alcune istruzioni sono molto grandi e il tempo di caricamento dipende dalla velocità della tua connessione a Internet.
Sommario
Gentile Cliente: La ringraziamo e ci complimentiamo per la scelta effettuata. Questo pratico apparecchio, moderno e funzionale, è fabbricato con materiali di prima qualità, che sono stati sottoposti ad uno stretto Controllo di Qualità durante tutto il processo di fabbricazione e meticolosamente coll...
INDICE Avvertenze di sicurezza ............................................ 36 Avvertimenti per l'uso ................................................41 Situazioni anomale ................................................... 43 Condizioni di garanzia .............................................. 44 ...
Avvertenze sulla sicurezza Leggere attentamente il presente Manuale d'uso per cucinare con questo apparecchio in modo efficace e sicuro. Prima d'installare il nuovo piano cottura, verificare che le misure dell'intaglio siano corrette. Questo apparecchio non dev'essere collegato ad un dispositivo di ...
 
                     
                     
                     
                     
                     
                     
                     
                     
                     
                     
                     
                     
                     
                     
                     
                     
                    