Remington D5715 - Manuale d'uso
 
                
                                    Asciugacapelli Remington D5715 – Manuale d'uso, leggi gratuitamente online in formato PDF. Speriamo che questo ti aiuti a risolvere eventuali dubbi. Se hai ulteriori domande, contattaci tramite il modulo di contatto.
Indice:
- Pagina 3 – ITALIANO; IMPORTANTI MISURE DI SICUREZZA; recipienti contenenti acqua.
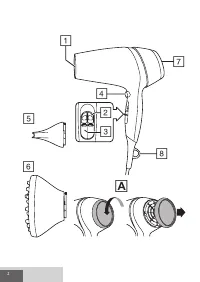
- Pagina 4 – PARTI
- Pagina 5 – PULIZIA E MANUTENZIONE
I
www.remington-europe.com
Thermacare PRO 2300
Hairdryer
D5715
"Caricamento dell'istruzione" significa che è necessario attendere finché il file non è caricato e pronto per la lettura online. Alcune istruzioni sono molto grandi e il tempo di caricamento dipende dalla velocità della tua connessione a Internet.
Sommario
18 ITALIANO Grazie per aver acquistato il vostro nuovo prodotto Remington®. Prima dell’uso, leggere attentamente le istruzioni e conservarle. Rimuovere tutto l’imballaggio prima dell’uso. IMPORTANTI MISURE DI SICUREZZA • L’apparecchio può essere utilizzato solo da bambini di età uguale o superiore a...
19 ITALIANO • Non mettere a contatto qualsiasi parte dell’apparecchio con volto, collo o cuoio capelluto. • Tenere il flusso d’aria diretta lontano dagli occhi e da altre zone sensibili. • Durante l’uso, fare attenzione che la griglia posteriore non sia bloccata in quanto ciò causerebbe l’arresto au...
20 ITALIANO • Per creare delle acconciature lisce utilizzare il concentratore sottile e una spazzola tonda per capelli (non in dotazione) durante l’asciugatura. • Per esaltare ricci e onde naturali, montare il diffusore sull’asciugacapelli. Mettersi a testa in giù e posizionare delicatamente i capel...
 
                     
                     
                     
                     
                     
                     
                     
                     
                     
                     
                                                                         
                                                                         
                                                                         
                                                                         
                                                                         
                                                                         
                                                                         
                                                                         
                                                                        