Philips TAA3206BK/00 - Manuale d'uso

Philips TAA3206BK/00

Philips TAA3206BK/00 – Manuale d'uso, leggi gratuitamente online in formato PDF. Speriamo che questo ti aiuti a risolvere eventuali dubbi. Se hai ulteriori domande, contattaci tramite il modulo di contatto.

1 Pagina 1
2 Pagina 2
3 Pagina 3
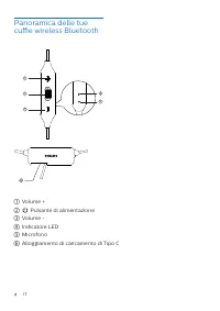
4 Pagina 4
5 Pagina 5
6 Pagina 6
7 Pagina 7
8 Pagina 8
9 Pagina 9
10 Pagina 10
11 Pagina 11
12 Pagina 12
13 Pagina 13
14 Pagina 14
Pagina: / 14

Indice:

  • Pagina 2 – Sommario
  • Pagina 3 – Sicurezza per l'udito
  • Pagina 4 – Altri dispositivi
  • Pagina 6 – Come iniziare; Caricare la batteria; Associare le cuffie al
  • Pagina 7 – Collegamento delle cuffie
  • Pagina 9 – Dati tecnici
  • Pagina 10 – Rimozione della batteria integrata; Informativa; Dichiarazione di conformità
  • Pagina 12 – Marchi; Bluetooth
Caricamento dell'istruzione

Manuale utente

Registrare il prodotto e richiedere assistenza all'indirizzo

www.philips.com/support

Cuffie

Serie

3000

TA A3206

"Caricamento dell'istruzione" significa che è necessario attendere finché il file non è caricato e pronto per la lettura online. Alcune istruzioni sono molto grandi e il tempo di caricamento dipende dalla velocità della tua connessione a Internet.

Sommario

Pagina 2 - Sommario

1 Importanti istruzioni sulla sicurezza 2 Sicurezza per l’udito 2 Informazioni generali 2 2 Le tue cuffie inaurali Bluetooth 3 Contenuto della confezione 3 Altri dispositivi 3 Panoramica delle tue cuffie wireless Bluetooth 4 3 Come iniziare 5 Caricare la batteria 5 Associare le cuffie al telefono ce...

Pagina 3 - Sicurezza per l'udito

1 Importanti istruzioni sulla sicurezza Sicurezza per l'udito  Per evitare danni all'udito, limitare i tempi di ascolto ad alto volume e impostare un livello di volume sicuro. Più alto è il volume, minore è il tempo di ascolto che rientra nei parametri di sicurezza. Quando si utilizzano gli auricol...

Pagina 4 - Altri dispositivi

2 Le tue cuffie inaurali Bluetooth Contenuto della confezione Philips cuffie intraurali Bluetooth Philips TAA3206 cuscinetti auricolari, ganci auricolari, alette auricolari Guida introduttiva Altri dispositivi Un telefono o un dispositivo mobile (ad esempio un notebook, palmare, adattatore Bluetooth...

Altri modelli di Philips

Tutti i altri Philips