Maunfeld MPI 58 - Manuale d'uso
 
                
                                    Piano cottura Maunfeld MPI 58 – Manuale d'uso, leggi gratuitamente online in formato PDF. Speriamo che questo ti aiuti a risolvere eventuali dubbi. Se hai ulteriori domande, contattaci tramite il modulo di contatto.
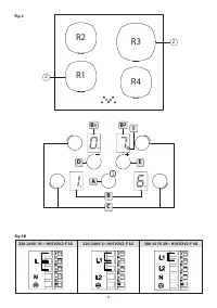
PIANO VETROCERAMICA
- Istruzioni per l'uso
GLASKERAMIK-KOCHFELD
- Gebrauchsanweisung
PLACA VITROCERÁMICA
- Instrucciones de uso
TABLE VETROCERAMIQUE
- Notice d'utilisation
GLASS CERAMIC HOB
- Operating instructions
GLASKERAMISCHE KOOKPLAAT
- Gebruiksaanwijzing
PLACA EM VITROCERÂMICA
- Instruções para a utilização
SKLOKERAMICKÁ VARNÁ DESKA
- Návod k použití
GLASKERAMISK KOGEPLADE
- Brugsanvisning
LASIKERAAMINEN KEITTOTASO
- Käyttöohjeet
ΥΑΛΟΚΕΡΑΜΙΚΗ ΕΠΙΦΑΝΕΙΑ
- Οδηγίες χρήσης
KERÁMIA FŐZŐLAP
- Használati útmutató
GLASSKERAMIKKTOPP
- Bruksanvisning
PŁYTA ZE SZKŁA CERAMICZNEGO
- Instrukcja obsługi
СТЕКЛОКЕРАМИЧЕСКАЯ ВАРОЧНАЯ ПАНЕЛЬ
- Инструкции по эксплуатации
GLASKERAMIKHÄLL
- Bruksanvisning
STIKLOKERAMIKINĖ KAITLENTĖ
- Naudojimo instrukcijos
СКЛОКЕРАМIЧНА ПОВЕРХНЯ
- Iнструкцiя з використання
SKLOKERAMICKÁ VARNÁ DOSKA
- Návod na použitie
GB
P
E
NL
D
F
I
DK
FIN
N
S
RUS
PL
LT
CZ
SK
GR
H
UA
"Caricamento dell'istruzione" significa che è necessario attendere finché il file non è caricato e pronto per la lettura online. Alcune istruzioni sono molto grandi e il tempo di caricamento dipende dalla velocità della tua connessione a Internet.
 
                     
                     
                     
                     
                     
                     
                     
                     
                     
                     
                     
                     
                    