Miele KMDA 7473 FL-U Silence - Istruzioni
Manuale d'uso Miele KMDA 7473 FL-U Silence
Sommario
Indice 2 Indicazioni per la sicurezza e avvertenze ....................................................... 5 Il Vostro contributo alla tutela dell'ambiente .................................................. 19 Panoramica ..................................................................................
Indice 4 Misure d'incasso – rialzato .................................................................................. 84 KMDA 7473 FR-A, KMDA 7473 FR-U ............................................................ 84KMDA 7473 FL-A, KMDA 7473 FL-U........................................................
Indicazioni per la sicurezza e avvertenze 5 Questo elettrodomestico è conforme alle vigenti norme in materiadi sicurezza. Un uso improprio può comunque causare danni apersone e/o cose. Leggere attentamente le istruzioni d'uso e di montaggio prima dimettere in funzione il piano cottura. Contengono in...
Indicazioni per la sicurezza e avvertenze 6 Uso corretto Questo piano cottura è destinato esclusivamente all'uso domesti- co. Questo apparecchio non è destinato all'impiego in ambienti ester- ni. Esso è destinato esclusivamente all'uso in ambito domestico per preparare e tenere in caldo le pie...
Indicazioni per la sicurezza e avvertenze 7 Bambini Tenere lontano dal piano cottura i bambini al di sotto degli otto an- ni, in alternativa sorvegliarli costantemente. I ragazzini più grandi e responsabili (a partire dagli otto anni) pos- sono eventualmente utilizzare l'apparecchio senza sorveg...
Indicazioni per la sicurezza e avvertenze 8 Sicurezza tecnica Riparazioni o lavori di installazione e di manutenzione non corret- tamente eseguiti possono mettere seriamente in pericolo l'utente.Lavori di installazione e manutenzione nonché riparazioni possonoessere eseguiti solo da personale tecn...
Indicazioni per la sicurezza e avvertenze 10 Se il piano cottura è stato montato dietro il frontale di un mobile (p.es. un'anta), non chiudere mai l'anta, mentre si utilizza l'elettrodo-mestico. Dietro il frontale del mobile chiuso si formano calore e umi-dità. Si possono danneggiare l'elettrodome...
Indicazioni per la sicurezza e avvertenze 11 Contemporaneo funzionamento con un fuoco alimentato da aria ambiente Pericolo di intossicazione a causa dei gas combustibili! Se la cappa viene messa in funzione mentre è attivo un fuoco(fiamma) alimentato con aria ambiente, è necessario adottare dellep...
Indicazioni per la sicurezza e avvertenze 13 Impiego corretto Quando è in funzione, il piano cottura diventa molto caldo e rima- ne tale per un po' di tempo anche dopo che è stato spento. Soloquando le indicazioni del calore residuo si spengono non si corre al-cun pericolo di scottarsi. L'olio o...
Indicazioni per la sicurezza e avvertenze 14 Quando il piano è acceso, o se lo si accende inavvertitamente op- pure se è ancora presente calore residuo sussiste il pericolo che og-getti metallici eventualmente appoggiati sulla superficie del pianopossano surriscaldarsi. Altri materiali possono fon...
Indicazioni per la sicurezza e avvertenze 15 Se sul piano cottura molto caldo cadono zucchero, sostanze zuc- cherine, plastica o carta stagnola e si fondono, quando si raffredda-no possono danneggiare la superficie in vetroceramica. Spegneresubito il piano cottura ed eliminare subito e a fondo que...
Indicazioni per la sicurezza e avvertenze 17 Non appoggiare le stoviglie calde sulla griglia di copertura dell'aspiratore. Il funzionamento dell'aspiratore si comprometterebbee la griglia di copertura potrebbe danneggiarsi. I liquidi possono danneggiare l'aspiratore. Tenere lontani dall'aspi- ra...
Indicazioni per la sicurezza e avvertenze 18 Pulizia e manutenzione Il vapore di un apparecchio di pulizia a vapore può giungere alle parti che conducono tensione e causare un corto circuito.Per pulire l'apparecchio non utilizzare mai un apparecchio a vapore. Se l'apparecchio viene incassato sop...
Il Vostro contributo alla tutela dell'ambiente 19 Smaltimento dell'imballaggio L'imballaggio è pratico e protegge l'ap-parecchio da eventuali danni di traspor-to. I materiali utilizzati per l'imballaggiosono riciclabili, in quanto selezionati se-condo criteri di rispetto dell’ambiente edi facilità d...
Panoramica 22 Comandi e spie f d c a b m n o l j k i h g e a Tasto sensore On/Off del piano cottura b Tasto sensore zone di cottura FlexPer collegare/separare manualmente le zone cottura Flex c Tasto sensore Tenere in caldoPer attivare/disattivare la funzione Tenere in caldo d Tasti sensore scala nu...
Panoramica 24 Informazioni sulle zone cottura Zona cot- tura Dimensioni in cm Potenza max. in Watt a 230 V 3 Zona cottu- ra accop- piata 4 Ø 1 2 11–21 21x21 NormaleBooster 2.1003.000 11–21 21x21 NormaleBooster 2.1003.000 11–21 21x21 NormaleBooster 2.1003.000 11–21 21x21 NormaleBooste...
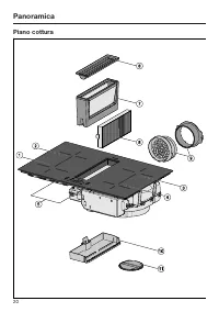
Panoramica 25 Accessori in dotazione Si possono ordinare tutti gli accessori indotazione e non, per i dettagli v. cap.“Accessori su richiesta”. Sagoma di foratura Sagoma stampata su entrambi i lati perrealizzare l'intaglio per il condottodell’aria o l’adattatore Plug&Play. Filtro a carboni attiv...
Al primo avvio 26 Incollare la targhetta dati compresanella documentazione dell'apparec-chio nell'apposito spazio al capitolo“Assistenza tecnica”. Rimuovere eventuali pellicole protetti-ve e adesivi. Pulire il piano cottura per laprima volta Prima di mettere in funzione l'appa-recchio per la p...
Al primo avvio 27 Miele@home Requisito: rete WLAN domestica Il piano cottura è dotato di un moduloWLAN integrato. Il piano cottura puòessere collegato alla rete WLAN dome-stica. Accertarsi che sul luogo di posizio-namento dell'elettrodomestico il se-gnale della rete WLAN sia sufficiente-mente forte....
Al primo avvio 28 Connettere Miele@home Collegamento tramite app È possibile stabilire la connessione direte con la app Miele. Per la registrazione occorrono: 1. la password della rete WLAN. 2. La password del piano cottura. La password del piano cottura è com-posta dalle ultime 9 cifre del numero d...
Al primo avvio 29 Interrompere il procedimento Toccare il tasto sensore . Resettare le impostazioni Per la sostituzione del router non è ne-cessario il reset. Accendere il piano cottura. Toccare una spia delle zone cottura apiacere. Toccare contemporaneamente i tastisensore 0 e 9 per 6 se...
Funzionamento 30 Zone di cottura Sotto ogni zona cottura è situata unabobina a induzione. Questa bobina ge-nera un campo magnetico che agiscedirettamente sul fondo delle stoviglie elo riscalda. La zona cottura si riscaldasolo indirettamente per il calore cedutodalla pentola. L'induzione funziona sol...
Funzionamento 31 Power Management Il piano cottura dispone di una potenzaassorbita massima che per motivi di si-curezza non può essere superata. Èpossibile ridurre la potenza massima, v.cap. "Programmazione". Sul piano cottura possono essere com-binate rispettivamente 2 zone cottura.Mediante...
Funzionamento 32 Aspiratore L'aria di sfiato aspirata può essere con-vogliata direttamente nel mobile basesolo con la modalità Plug&Play. Funzionamento a evacuazione L'aria aspirata viene purificata passan-do attraverso il filtro antigrasso e con-vogliata all'esterno. Si possono richie-dere a Mi...
Stoviglie di cottura 33 Stoviglie adatte - acciaio inossidabile con fondo ma- gnetizzabile, - acciaio smaltato, - ghisa. Le caratteristiche del fondo delle stovi-glie possono influenzare i risultati dicottura (p.es. la doratura di frittate puòrisultare non uniforme). Il fondo dellestoviglie deve dis...
Stoviglie di cottura 34 Suggerimenti - Per un uso ottimale della zona cottu- ra, scegliere un recipiente con un dia-metro del fondo adatto (v. cap. "Pa-noramica", par. "Informazioni zonecottura"). Se la pentola è troppo pic-cola, non viene riconosciuta. - Posizionare le stoviglie di ...
Consigli per risparmiare energia elettrica 35 - Cucinare possibilmente sempre con pentole e padelle dotate di coperchio.Si evita così l'inutile dispersione dicalore. - Si consiglia di cuocere con poca ac- qua. - Dopo aver iniziato ad arrostire o a cuocere le pietanze portare il livello dipotenza su ...
Aree di regolazione 36 Il piano cottura di serie è programmato con 9 livelli di potenza. Se si desidera unagradazione più dettagliata è possibile passare a 17 livelli di potenza (v. capitolo"Programmazione"). Area di regolazione di serie (9 livelli) ampliato (17 livelli) Fondere burroSciogli...
Modalità di utilizzo 37 Impostazioni Il piano cottura in vetroceramica è dota-to di sensori elettronici che reagisconose si sfiorano col dito. Il tasto sensoreOn/Off deve essere premuto un po' più a lungo per motivi di sicurezza almomento dell'accensione rispetto aglialtri tasti.Ogni reazione dei ...
Modalità di utilizzo 38 Pericolo di incendio a causa de- gli alimenti surriscaldati.Gli alimenti non sorvegliati possonosurriscaldarsi e prendere fuoco.Sorvegliare sempre il piano di cotturaquando è in funzione. Tenere in considerazione che il tem-po di riscaldamento dei piani cotturaa induzione è...
Modalità di utilizzo 39 Indicazione calore residuo Se una zona cottura è calda, dopoaverla spenta si accende la spia del ca-lore residuo. I trattini dell’indicazione di calore resi-duo si spengono l’uno dopo l’altro manmano che le zone cottura si raffredda-no. L’ultimo trattino si spegne soloquando ...
Modalità di utilizzo 40 Area di cottura Flex Le zone cottura Flex si azionano in au-tomatico per creare un'area di cotturaFlex quando si appoggiano stovigliesufficientemente grandi (v. cap. "Pano-ramica", par. "Piano cottura"). Le zonedi cottura Flex si possono accendere in-sieme o s...
Modalità di utilizzo 41 Dispositivo automatico di iniziocottura Se il dispositivo automatico di iniziocottura è attivo, la zona cottura riscaldaimmediatamente a piena potenza perpoi commutare sul livello di continua-zione della cottura scelto dall’utente. Iltempo di inizio cottura dipende dal livel-...
Modalità di utilizzo 42 Booster Il Booster rafforza la potenza, affinché sipossano riscaldare grandi quantità p.es.di acqua per cuocere la pasta. Questorafforzamento di potenza è attivo permax. 5 minuti. Se si attiva il Booster, l’impostazionedella zona di cottura accoppiata puòcambiare, v. capitolo...
Modalità di utilizzo 43 Tenere in caldo La funzione tenere in caldo non serveper riscaldare nuovamente pietanzeraffreddatesi bensì per tenere in caldopietanze molto calde subito dopo lapreparazione. La durata massima di Tenere in caldo èdi 2 ore. - Tenere in caldo le pietanze solo nelle stoviglie in...
Modalità di utilizzo 44 Aspiratore L'aspiratore si accende in automaticose le stoviglie sono sulla zona cottura ese per la zona cottura viene impostatoun livello di potenza (Con@ctivity). Il li-vello di potenza dell'aspiratore dipendedal livello di potenza della zona cottura.Il tempo di funzionament...
Modalità di utilizzo 45 Impostare il livello di potenza/spe-gnere l'aspiratore Toccare la spia dell'aspiratore fuma-ne. Toccare il tasto sensore per imposta-re un livello di potenza. Per lo spegnimento toccare il tastosensore 0 . Se l'aspiratore fumane non vienespento col funzionamento manuale...
Timer 46 Il piano cottura deve essere accesoper poter utilizzare il timer. Il timer ha 2 funzioni: - per impostare una durata breve - e per spegnere una zona cottura in automatico. Le funzioni possono essere utilizzatecontemporaneamente. È possibile impostare il tempo partendoda 1 minuto ( : ) fi...
Timer 47 Spegnimento automatico È possibile impostare una durata al ter-mine della quale la zona cottura si spe-gne in automatico. La funzione può es-sere utilizzata contemporaneamente pertutte le zone cottura. La zona cottura viene spenta automa-ticamente dalla funzione di spegni-mento automatico s...
Timer 48 Usare contemporaneamente lefunzioni del timer Se si utilizzano le funzioni contempora-neamente, compare sempre la duratadell'ultima funzione selezionata. Se si vogliono visualizzare le durateresidue che scorrono in sottofondo,toccare il tasto sensore o la rispet- tiva spia della zona co...
Funzioni supplementari 49 Stop&Go Con l'attivazione di Stop&Go il livello dipotenza di tutte le zone cottura accesesi riduce a 1. Il livello di potenzadell'aspiratore non si riduce e/o può ad-dirittura aumentare a seconda del livellodi potenza impostato sulle zone cottura.I livelli di potenz...
Funzioni supplementari 50 Protezione per la pulizia È possibile bloccare i tasti sensore delpiano cottura per 20 secondi per ri-muovere p.es. lo sporco. Il tasto sen-sore non viene bloccato. Attiva Toccare il tasto sensore . Toccare il tasto sensore . Il tempo scorre a ritroso sul displa...
Dispositivi di sicurezza 51 Blocco accensione/Blocco comandi Il blocco comandi si disattiva in casodi interruzione della corrente elettri-ca. L’apparecchio è dotato di un blocco ac-censione e un blocco comandi. In que-sto modo non possono essere inavver-titamente accesi né il piano né le zonecottura...
Dispositivi di sicurezza 52 Attivare il blocco accensione Toccare il tasto sensore per 6 se- condi. I secondi scorrono a ritroso sul displaytimer. Al termine sul display timer com-pare . Il blocco accensione è attiva- to. Disattivare il blocco accensione Toccare il tasto sensore per 6 se...
Dispositivi di sicurezza 53 Spegnimento di sicurezza I tasti sensore sono coperti Se uno o più tasti sensore rimangonocoperti per più di 10 secondi, p.es. percontatto, a causa del trabocco dellepietanze o di oggetti appoggiati, il pianodi cottura si spegne automaticamente.Sul display del timer lampe...
Dispositivi di sicurezza 54 Dispositivo antisurriscalda-mento Tutte le bobine di induzione e il dissipa-tore di calore dell'elettronica sono ri-spettivamente dotati di un dispositivoantisurriscaldamento. Prima che le bo-bine a induzione e/o il dissipatore di ca-lore possano surriscaldarsi, il dispos...
Programmazione 55 È possibile adattare la programmazionedel piano cottura alle proprie esigenze.Si possono modificare diverse imposta-zioni in sequenza. Dopo aver attivato la programmazionecompare il tasto sensore + e sul display timer . Dopo alcuni secondi lampeg- giano sul display del timer alt...
Indicazioni per organismi di controllo 59 Pietanze test secondo EN 60350-2 Di serie sono impostati 9 livelli di potenza. Per la verifica secondo la norma impostare i livelli di potenza ampliati (v. capitolo“Programmazione”). Pietanza test Fondo stoviglie di cot- tura (mm) Coper- chio Livello poten...
Pulizia e manutenzione 60 Pericolo di ustionarsi a causa delle zone di cottura molto calde.Al termine del processo di cottura lezone sono molto calde.Spegnere il piano cottura.Far raffreddare le zone cottura primadi pulire il piano. Pericolo di ferirsi con il motore aspiratore.Quando l’aspirator...
Pulizia e manutenzione 61 Pulire la superficie in vetroce-ramica Danni causati da oggetti appun- titi.Il nastro di tenuta tra piano cottura epiano di lavoro può essere danneg-giato.Il nastro di tenuta tra vetroceramica ecornice può essere danneggiato.Per la pulizia non utilizzare oggettiappuntiti....
Pulizia e manutenzione 62 Griglia di copertura/filtro anti-grasso/filtro a carboni attivi La griglia di copertura e il filtro antigras-so in metallo riutilizzabile dell'aspiratoretrattengono le particelle di unto e polve-re che si sviluppano durante la cottura,evitando così che l'aspiratore per pian...
Pulizia e manutenzione 63 Pulire il filtro antigrasso Estrarre il filtro antigrasso Estrarre la griglia di copertura. Estrarre il filtro antigrasso con cautelacon l’aiuto degli incavi laterali (1). Fareattenzione a non ribaltare il filtro anti-grasso Versare i liquidi raccoltisi dalla basedel ...
Pulizia e manutenzione 64 Sostituire il filtro antiodore (soloKMDA 7473 FR-U, KMDA 7473 FL-U) Dopo 120 ore di funzionamento il filtroantiodore deve essere sostituito. Appa-re il tasto sensore . Nel capitolo “Accessori su richiesta” sitrova la denominazione del filtro antio-dore. Estrarre la grig...
Pulizia e manutenzione 65 Pulire il vano interno dell'unitàdi aspirazione Pulire il vano interno dell’unità di aspira-zione se a causa di eventuali trabocchi,del liquido è penetrato nell’aspiratore. Pulire la vaschetta di raccoltadell'aspiratore. Posizionare un recipiente sotto losportellino per...
Cosa fare se... 66 La maggior parte dei guasti che si verificano durante l'uso quotidiano dell'appa-recchio può essere eliminata personalmente, senza difficoltà. In molti casi è possi-bile risparmiare tempo e costi senza doversi necessariamente rivolgere all'assi-stenza tecnica. Le tabelle che seguo...
Cosa fare se... 68 Comportamento inaspettato Problema Causa e rimedio Il livello di potenza 9 siriduce automaticamen-te se sulla zona di cot-tura collegata si impo-sta il livello di potenza9. In caso di funzionamento contemporaneo al livello dipotenza 9 si supera la potenza totale possibile. Utili...
Cosa fare se... 69 Risultato non soddisfacente Problema Causa e rimedio Con il dispositivo auto-matico di inizio cotturaattivato il contenutodelle stoviglie non sicuoce. Si riscaldano grandi quantità di alimenti. Selezionare il livello di potenza più alto e abbassa-re poi manualmente la temperatur...
Accessori su richiesta 72 Miele offre un vasto assortimento di ac-cessori e prodotti per la pulizia e la ma-nutenzione adatti all'elettrodomestico indotazione. Questi prodotti possono essere facil-mente ordinati tramite internet al sitowww.miele.it. In alternativa sono reperibili presso ilservizio d...
Installazione *INSTALLATION* 73 Istruzioni di sicurezza per il montaggio Danni causati da montaggio errato. Un montaggio errato può danneggiare il piano cottura.Far montare il piano cottura solo da personale qualificato. Pericolo di scossa elettrica a causa della tensione di rete. Un allacciamen...
Installazione *INSTALLATION* 74 Per la conduttura di scarico dell'aria possono essere utilizzati solo tubi in materiale non infiammabile, reperibili presso i rivenditori spe-cializzati oppure presso l'assistenza tecnica Miele autorizzata. L'aria di scarico non deve essere convogliata in un camin...
Installazione *INSTALLATION* 75 Distanze di sicurezza Distanza di sicurezza sopra il pianocottura Tra il piano cottura e una cappa aspi-rante posta al di sopra dell’apparecchioè necessario mantenere la distanza disicurezza indicata dalla casa produttri-ce. Se sopra l'apparecchio fossero installatima...
Installazione *INSTALLATION* 76 Distanza di sicurezza verso i lati / laparete posteriore Il piano cottura deve essere incassatopreferibilmente lasciando molto spazioa destra e a sinistra. Sul retro del piano cottura deve essererispettata la distanza minima indicata inbasso rispetto a una parete di...
Installazione *INSTALLATION* 77 Distanza di sicurezza dal rivestimento della nicchia Se si applica un rivestimento sulla nicchia occorre rispettare una distanza minimatra l'intaglio del piano di lavoro e il rivestimento poiché le temperature elevate pos-sono modificare o danneggiare i materiali. Se ...
Installazione *INSTALLATION* 78 Modalità Funzionamento a evacuazione Funzionamento a ricircolo guidato Modali- tà Plug&Play KMDA 7473 FR-A – – KMDA 7473 FR-U – KMDA 7473 FL-A – – KMDA 7473 FL-U – possibile possibile - necessari altri accessori – non possibili
Installazione *INSTALLATION* 81 Indicazioni relative al montag-gio – cornice rialzata Guarnizione tra piano cottura e pianodi lavoro Danni causati da montaggio er- rato.Piano cottura e piano di lavoro pos-sono danneggiarsi in caso di smon-taggio del piano, se viene applicatodel materiale isolante ...
Installazione *INSTALLATION* 82 Altezza minima della zoccolo L’altezza minima della zoccolo delKMDA 7473 FR-U, KMDA 7473 FL-U ècon: - Funzionamento a ricircolo guidato: 100 mm - Modalità Plug&Play: 25 mm Sezione dell’apertura di sfiato – modalità Plug&Play La sezione dell’apertura di sfiato ...
Installazione *INSTALLATION* 83 Valore U La modalità Plug&Play è possibile in edifici più recenti e ristrutturati. Se la pareteadiacente o il pavimento sono adiacenti al terreno o all’aria esterna, il coefficientedi trasferimento termico (valore U) deve essere di: ≤ 0,5 W/(m²K). Materiale Spesso...
Installazione *INSTALLATION* 84 Misure d'incasso – rialzato Tutte le misure sono indicate in mm. KMDA 7473 FR-A, KMDA 7473 FR-U a Parte anteriore b Vaschetta di raccolta amovibile c Sportellino per la pulizia d Allacciamento alla rete elettrica con cavo di alimentazioneCavo di alimentazione elettric...
Installazione *INSTALLATION* 85 KMDA 7473 FL-A, KMDA 7473 FL-U a Parte anteriore b Vaschetta di raccolta amovibile c Sportellino per la pulizia d Allacciamento alla rete elettrica con cavo di alimentazioneCavo di alimentazione elettrica L = 1.440 mm
Installazione *INSTALLATION* 86 Funzionamento a evacuazione e a ri-circolo guidato Profondità piano di lavoro 600 mm KMDA 7473 FR-A, KMDA 7473 FR-U a La parete posteriore del corpo deveessere amovibile per gli interventi diservizio.Per la guida del canale di sfiato tra laparete del corpo e una paret...
Installazione *INSTALLATION* 87 Profondità piano di lavoro superiorea 600 mm KMDA 7473 FR-A, KMDA 7473 FR-U a La parete posteriore del corpo deveessere amovibile per gli interventi diservizio.Per la guida del canale di sfiato tra laparete del corpo e una parete del-l'ambiente o un mobile adiacenti d...
Installazione *INSTALLATION* 90 Allacciamento al contatto fine-stra, se necessario Il collegamento per il contatto a finestra è in tensione!Gravi danni alle persone a causa discosse elettriche!Staccare il piano cottura dalla reteelettrica prima di allacciare il sistemadi attivazione.Il cavo di ali...
Installazione *INSTALLATION* 91 Sostituire il ponte con un cavo di alimentazione del sistema di attiva-zione. Chiudere l'involucro. Riavvitare la vite del dispositivo fer-macavo. Reinserire il connettore.
Installazione *INSTALLATION* 92 Incasso rialzato Praticare l'intaglio nel piano di lavoro.Rispettare le distanze di sicurezza (v.cap. "Installazione", par. "Distanze disicurezza"). Accorciare la sagoma di foratura for-nita nella parte superiore in base allospessore del piano di l...
Installazione *INSTALLATION* 93 Indicazioni per l'incasso – a filo Un piano cottura a filo è adatto soloper l'incasso in pietra naturale (granito,marmo), legno massello e piani di la-voro piastrellati. Al capitolo "Installa-zione", par. "Misure d'incasso - a filo"i piani cottura cont...
Installazione *INSTALLATION* 101 Incasso a filo Praticare l'intaglio nel piano di lavoro.Rispettare le distanze di sicurezza (v.cap. "Installazione", par. "Distanze disicurezza"). Accorciare la sagoma di foratura for-nita nella parte superiore in base allospessore del piano di la...
Installazione *INSTALLATION* 102 Intaglio parete posteriore – senza sagoma di foratura Utilizzare preferibilmente la sagoma di foratura fornita. Seguire le seguenti istruzio-ni solo se la sagoma di foratura non è disponibile. Incasso rialzato Vista della sagoma di foratura lato 2. Non è un'immagine ...
Installazione *INSTALLATION* 104 Conduttura di evacuazionedell'aria Se l'aspiratore deve funzionare in presenza di fuochi alimentati con ariaambiente, a determinate condizionipuò sussistere il pericolo di intossi-cazione!Leggere attentamente le “Indicazionisulla sicurezza e avvertenze”.In caso di ...
Installazione *INSTALLATION* 105 Allacciamento elettrico Danni causati da allacciamento errato.Riparazioni o lavori di installazione edi manutenzione non correttamenteeseguiti possono mettere seriamentein pericolo l'utente.Miele rende noto che non si assumealcuna responsabilità per danni diret-ti ...
Installazione *INSTALLATION* 106 Staccare l’apparecchio dalla reteelettrica Pericolo di scossa elettrica a causa della tensione di rete.Nel corso di lavori di riparazione e/omanutenzione una riattivazione dellatensione di rete può causare un cortocircuito.Dopo il distacco accertarsi che nonci poss...
Installazione *INSTALLATION* 107 Schema di allacciamento Sul luogo di installazione non è con-sentito qualsiasi tipo di allacciamen-to.Tenere conto e rispettare le normati-ve locali e le normative aggiuntivedell'azienda elettrica locale. L1 200-240 V~ 200-240 V~ 200-240 V~ a b c d e - L2 L3 N - L2 b...
Assistenza tecnica 108 Contatti in caso di guasto In caso di guasti che non si è in grado di risolvere da soli, contattare il negoziospecializzato Miele o il servizio di assistenza tecnica Miele. È possibile visualizzare i contenuti online dell'assistenza tecnica sottowww.miele.it/elettrodomestico/s...
Schede prodotti 109 Le schede prodotti dei modelli descritti nelle presenti istruzioni d'uso sono allegatedi seguito. Informazioni sui piani cottura elettrici a uso domestico ai sensi del regolamento (UE) n. 66/2014 MIELE Identificativo del modello KMDA 7473 Numero di zone e/o aree di cottura 4 Per ...
Schede prodotti 110 Scheda per cappe aspiranti ai sensi del regolamento delegato (UE) n. 65/2014 e del regolamento (UE) n.66/2014 MIELE Identificativo del modello KMDA 7473 Consumo annuo di energia (AEC hood ) 31,5 kWh/anno Classe di efficienza energetica A+ Indice di efficienza energetica (EEI hood...
Dichiarazione di conformità 111 Miele dichiara che questo piano cotturain vetroceramica è conforme alla diretti-va 2014/53/UE. Il testo completo della dichiarazione diconformità UE è disponibile ai seguentiindirizzi internet: - Prodotti, download, www.miele.it - Service, richiedere informazioni, ist...
Other Miele Altri Manuals
-
Miele APWM 063
Manuale di installazione
-
Miele APWM 020
Manuale d'uso
-
Miele APWM 020
Manuale di installazione
-
Miele SC
Manuale di installazione
-
Miele PR
Manuale di installazione
-
Miele FP 900
Manuale di installazione
-
Miele RP 900
Manuale di installazione
-
Miele APWM 019
Manuale d'uso
-
Miele APWM 019
Manuale di installazione
-
Miele PR 900
Manuale di installazione
-
Miele A 830/1
Manuale d'uso
-
Miele TT 86
Manuale d'uso
-
Miele RP 1150
Manuale di installazione
-
Miele APCL 001
Manuale di installazione
-
Miele E 473/2
Manuale d'uso
-
Miele FFK 01
Manuale di installazione
-
Miele FFK 01
Manuale
-
Miele DS 5
Manuale di installazione
-
Miele DS 10
Manuale di installazione
-
Miele DOS K 85 flex
Manuale di installazione