Cata MIDAS 900XGWH - Istruzioni
Manuale d'uso Cata MIDAS 900XGWH
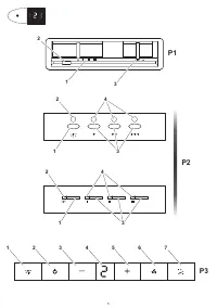
                                1
                                 
                            
                                                     
                            
                                2
                                 
                            
                                                     
                            
                                3
                                 
                            
                                                     
                            
                                4
                                 
                            
                                                     
                            
                                5
                                 
                            
                                                     
                            
                                6
                                 
                            
                                                     
                            
                                7
                                 
                            
                                                     
                            
                                8
                                 
                            
                                             
                            Other Cata Cappe da cucina Manuals
- 
                                                                     Cata 600XGBK
                                Manuale d'uso Cata 600XGBK
                                Manuale d'uso
- 
                                                                     Cata 9000 XGBK
                                Manuale d'uso Cata 9000 XGBK
                                Manuale d'uso
- 
                                                                     Cata AVLAKI 600XGWH
                                Manuale d'uso Cata AVLAKI 600XGWH
                                Manuale d'uso
- 
                                                                     Cata C 600 Glass/B
                                Manuale d'uso Cata C 600 Glass/B
                                Manuale d'uso
- 
                                                                     Cata C-600 GLASS H
                                Manuale d'uso Cata C-600 GLASS H
                                Manuale d'uso
- 
                                                                     Cata DIO 600GWH
                                Manuale d'uso Cata DIO 600GWH
                                Manuale d'uso
- 
                                                                     Cata MIDAS 600XGWH
                                Manuale d'uso Cata MIDAS 600XGWH
                                Manuale d'uso
- 
                                                                     Cata Neblia 500 WH
                                Manuale d'uso Cata Neblia 500 WH
                                Manuale d'uso
- 
                                                                     Cata Neblia 600
                                Manuale d'uso Cata Neblia 600
                                Manuale d'uso
- 
                                                                     Cata Neblia 600 Inox
                                Manuale d'uso Cata Neblia 600 Inox
                                Manuale d'uso
- 
                                                                     Cata P-3050 ESV
                                Manuale d'uso Cata P-3050 ESV
                                Manuale d'uso
- 
                                                                     Cata TF-5260 Inox
                                Manuale d'uso Cata TF-5260 Inox
                                Manuale d'uso
- 
                                                                     Cata V 600 WH/L
                                Manuale d'uso Cata V 600 WH/L
                                Manuale d'uso
- 
                                                                     Cata V-6000 X
                                Manuale d'uso Cata V-6000 X
                                Manuale d'uso
