Pagina 19 - Il frigorifero
IT 3 Le illustrazioni contenute in questa guida sono schematiche e potrebbero non corrispondere esattamente all'apparecchio in uso. Se le parti in oggetto non sono incluse nell'apparecchio acquistato, significa che sono da intendersi per altri modelli. 1 Il frigorifero 3 1 *2 *4 4 5 6 *7 8 4 13 14 1...
Pagina 20 - Importanti avvertenze per la sicurezza; Uso previsto
IT 4 2 Importanti avvertenze per la sicurezza Prendere in esame le seguenti informazioni. Se queste informazioni non vengono rispettate, possono verificarsi lesioni personali o danni materiali. Quindi tutte le garanzie e gli impegni sull’affidabilità diventerebbero privi di validità. La vita d’uso d...
Pagina 24 - Installazione
IT 8 3 Installazione B Ricordarsi che il fabbricante non è responsabile della mancata osservanza delle informazioni fornite nel manuale di istruzioni. Punti da tenere in considerazione quando si trasporta nuovamente il frigorifero 1. Deve essere svuotato prima di ogni trasporto. 2. Scaffali, accesso...
Pagina 27 - Preparazione
IT 11 4 Preparazione C Il frigorifero dovrà essere installato ad almeno 30 cm lontano da fonti di calore, come forni, riscaldamento centrale e stufe e ad almeno 5 cm da forni elettrici e non deve essere esposto alla luce diretta del sole. C Assicurarsi che l’interno del frigorifero sia ben pulito. C...
Pagina 28 - Utilizzo del frigorifero; Tasto di impostazione
IT 12 5 Utilizzo del frigorifero Tasto di impostazione termostato scomparto frigo Il pulsante del termostato consente di impostare la temperatura generale del frigorifero. IIl pulsante del termostato del frigorifero controlla sia la temperatura dello scomparto freezer che la quantità di aria inviata...
Pagina 30 - Posizionamento alimenti
IT 14 Regolazione scomparto freezer Regolazione scomparto frigo Spiegazioni -18°C 4°C Queste sono i consigli di impostazione normale. -20,-22 o -24°C 4°C Queste impostazioni sono consigliate quando la temperatura ambiente supera i 30°C. Congelamento rapido 4°C Usare quando si desidera congelare gli ...
Pagina 32 - Manutenzione e pulizia; Protezione delle superfici di
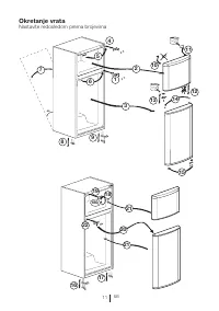
IT 16 6 Manutenzione e pulizia A Non usare mai gasolio, benzene o sostanze simili per scopi di pulizia. B È consigliato scollegare l’apparecchio prima della pulizia. B Non utilizzare mai attrezzi appuntiti o sostanze abrasive, saponi, detergenti per la casa o cere per la pulizia. C Utilizzare acqua ...
Pagina 33 - Soluzioni consigliate per i problemi
IT 17 7 Soluzioni consigliate per i problemi Prima di chiamare il servizio assistenza, rivedere la lista precedente. Si risparmierà tempo e denaro. Questa lista comprende frequenti reclami che non derivano da difetti di lavorazione o dai materiali utilizzati. Alcune delle funzioni descritte qui potr...