AEG MC 4455 CD-MP3- Istruzioni

AEG MC 4455 CD-MP3- Manuale d'uso in formato PDF online

Istruzioni:

1 Page 1
2 Page 2
3 Page 3
4 Page 4
5 Page 5
6 Page 6
7 Page 7
8 Page 8
9 Page 9
10 Page 10
11 Page 11
12 Page 12

Sommario

Pagina 3 - Norme di sicurezza generali; Avvertenze speciali per la sicurezza

Italiano 23 Norme di sicurezza generali Prima di mettere in funzione questo apparecchio, leggere molto attentamente le istruzioni per l’uso e conservarle con cura unitamente al certificato di garanzia, allo scontrino e, se possibile, alla scatola di cartone con la confezione interna. Se passate l‘ap...

Pagina 4 - Utilizzo conforme alla destinazione

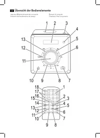
Italiano 24 12 Tasto STANDBY (acceso / standby) 13 Tasto di selezione funzione INPUT (CD/USB/RADIO) Retro (nessuna immagine) Collegamenti altoparlanti Collegamento alla rete ACAntenna a filo FM ANT Telecomando 1 Tasti numerici2 Tasto +103 Tasto /TUNE+ (avanzamento rapido) 4 Tasto SNOOZE (snooze)5 Ta...

Pagina 5 - Uso generale

Italiano 25 Impostazione dell‘ ora / Orario della sveglia • Premere il tasto SET (10 sul telecomando). Premere in modo ripetuto il tasto SET per attivare ora, Sveglia 1 , e Sveglia 2 . Il display lampeggia 00:00. • Per impostare le ore, premere il tasto (5/13). • Per impostare i minuti, premere il t...

AEG Istruzioni